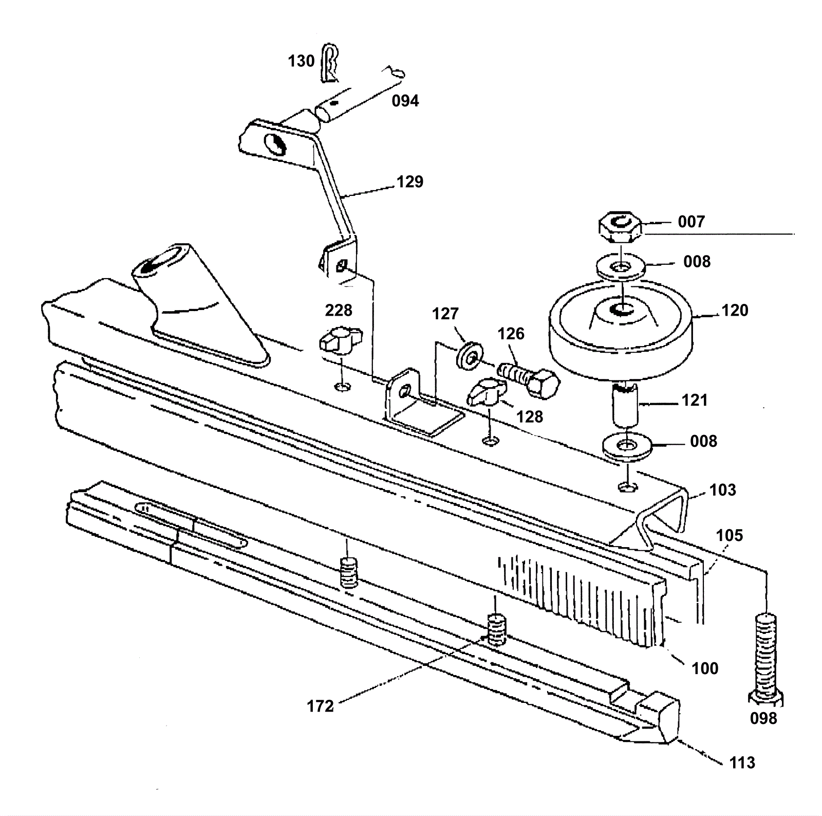
Old Squeegee Assembly
Click to enlarge