| # | Part | Description | Price | Req | Notes | Availability |
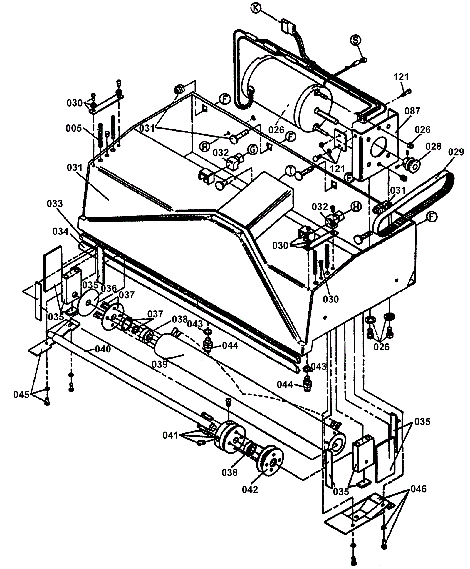
005 |
221-0005
|
Dome pivot spring |
$6.05
|
4 |
|
ships same day |
026 |
221-0148
|
Brush drive motor assembly |
$282.12
|
1 |
|
usually ships 16-20 days |
028 |
221-0303
|
Pulley |
$21.86
|
1 |
|
usually ships 16-20 days |
029 |
221-0150
|
Timing belt |
$13.82
|
1 |
|
usually ships 16-20 days |
030 |
221-0151
|
Spring cover plate assembly |
$51.13
|
1 |
|
usually ships 1-5 days |
031 |
221-0153
|
Brush chamber assembly |
$707.61
|
1 |
|
usually ships 1-5 days |
032 |
221-0035
|
90 degree elbow1/8 x 1/4 |
$6.05
|
1 |
|
usually ships 1-5 days |
033 |
221-0155
|
Back glide |
$15.17
|
1 |
|
usually ships 16-20 days |
034 |
221-0157
|
Front glide |
$15.48
|
1 |
|
usually ships 16-20 days |
035 |
221-0158
|
Slide block assembly |
$69.45
|
2 |
|
usually ships 16-20 days |
036 |
221-0159
|
Washer |
$3.71
|
1 |
|
usually ships 16-20 days |
037 |
221-0160
|
String guard assembly |
$23.32
|
1 |
|
usually ships 16-20 days |
038 |
221-0161
|
Brush bearing |
$25.86
|
2 |
|
usually ships 16-20 days |
039 |
221-0163
|
Rotary brush |
$117.21
|
1 |
|
usually ships 16-20 days |
040 |
221-0165
|
Brush shaft |
$56.51
|
1 |
|
usually ships 1-5 days |
041 |
221-0166
|
Rotary brush slinger assembly |
$68.55
|
1 |
|
usually ships 16-20 days |
042 |
221-0167
|
Rotary brush pulley |
$65.89
|
1 |
|
usually ships 16-20 days |
043 |
221-0038
|
Washer 7/16 x 5/8 3/32 thick |
$1.09
|
1 |
|
usually ships 16-20 days |
044 |
221-0169
|
Spray tip |
$8.27
|
2 |
|
usually ships 16-20 days |
045 |
221-0170
|
Open end cover plate assembly |
$40.12
|
|
|
usually ships 16-20 days |
046 |
221-0171
|
Pulley end cover plate assembly |
$100.62
|
1 |
|
usually ships 16-20 days |
087 |
221-0172
|
Brush drive motor bracket |
$26.49
|
1 |
|
usually ships 1-5 days |
121 |
221-0173
|
Mounting board |
$2.66
|
1 |
|
usually ships 1-5 days |
N/S |
221-0030
|
Ground wire assembly (OBSOLETE) |
$3.51
|
1 |
|
usually ships 1-5 days |
N/S |
221-0437
|
Rectifier |
$13.04
|
1 |
|
usually ships 16-20 days |