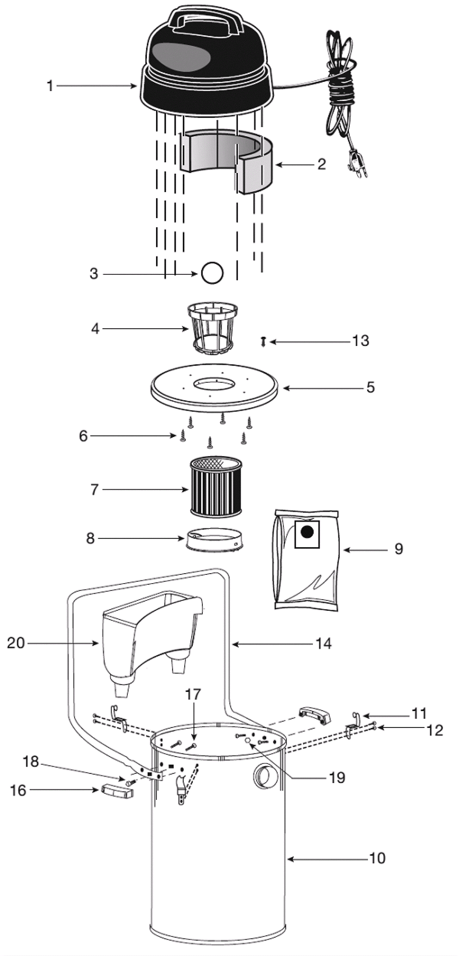
QPL45 Entire Assembly

#PartDescriptionPriceReqNotesAvailability
1 228-7031 Power unit assembly (OBSOLETE) $132.92 1 (Individual components not available) usually ships 10-11 days
2 228-7032 Foam insert (OBSOLETE) $0.99 1 usually ships 10-11 days
3 228-7005 Float $2.24 1 usually ships 1-5 days
4 228-7033 Filter cage Call for price 1 usually ships 1-5 days
5 228-7643 Lid cage and latch assembly (OBSOLETE) $26.13 1 usually ships 10-11 days
6 228-7035 Screw #10 x 1 hex head Call for price 6 usually ships 1-5 days
8 228-7027 Filter retainer (OBSOLETE) $7.55 1 usually ships 8-10 days
9 228-7036 Bag (OBSOLETE) $17.29 1 usually ships 10-11 days
10 228-7037 Tank assembly Call for price 1 usually ships 1-5 days
11 228-7038 Tank clamp Call for price 2 usually ships 1-5 days
12 228-7039 Rivet Call for price 4 usually ships 1-5 days
13 228-7040 Push-in fastener Call for price 1 usually ships 1-5 days
14 228-7041 Carriage handle $13.61 1 usually ships 10-11 days
15 228-7042 Handle and hardware assembly Call for price 1 (includes 16-19) usually ships 1-5 days
16 228-7043 Side tank handle (OBSOLETE) $1.10 2 usually ships 10-11 days
17 228-7044 Screw #10 x 3/4 hex head (OBSOLETE) $1.10 4 usually ships 10-11 days
18 228-7045 Bolt 1/4-20 x 1/2 $1.10 2 usually ships 1-5 days
19 228-7046 Nut 1/4-20 hex Call for price 2 usually ships 1-5 days
20 228-7047 Accessory basket Call for price 1 usually ships 1-5 days