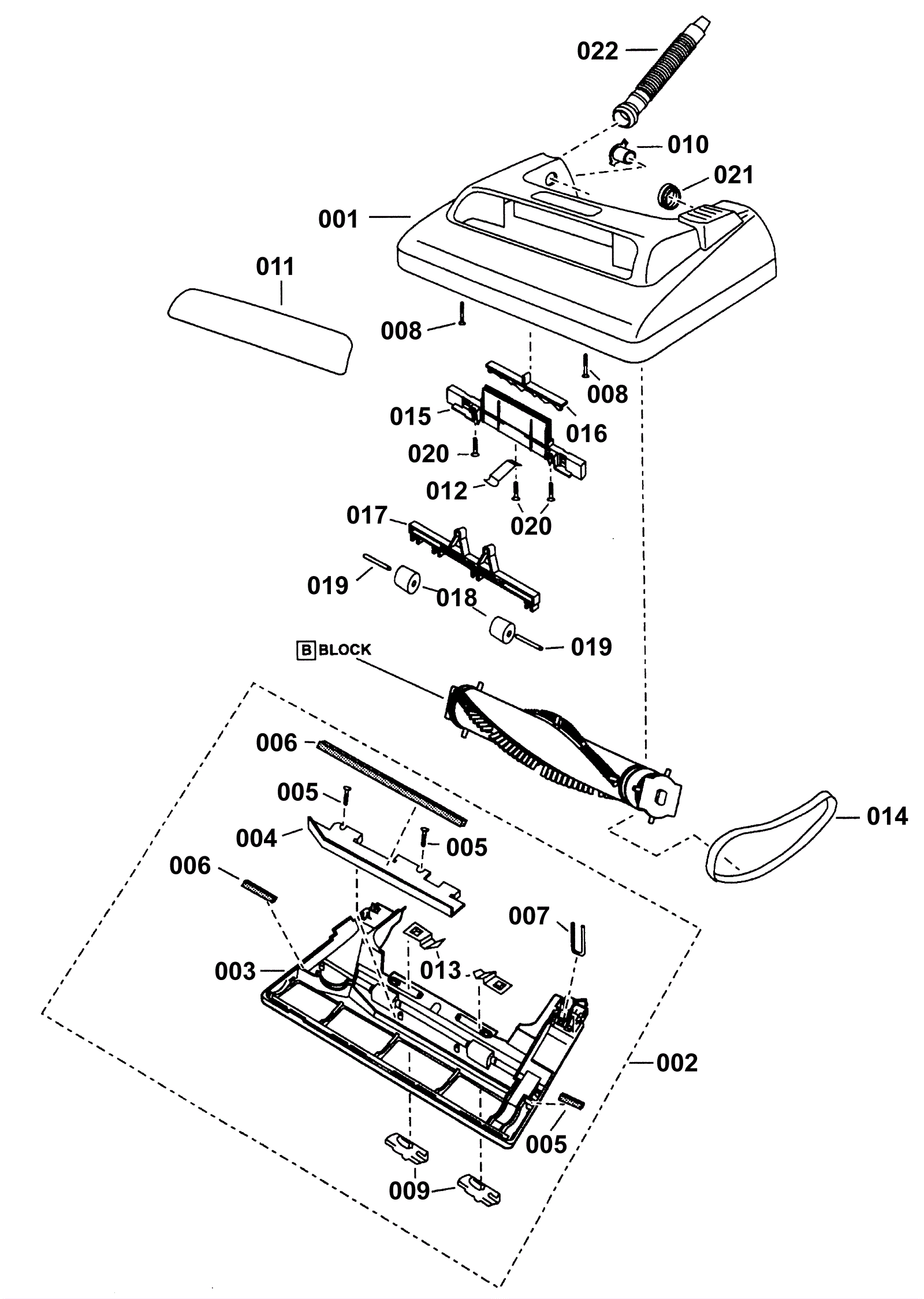
MC-V225
Base Assembly
Click to enlarge
#
Part
Description
Price
Req
Notes
Availability
001
228-0321
Base housing (OBSOLETE)
$60.71
1
usually ships 16-34 days