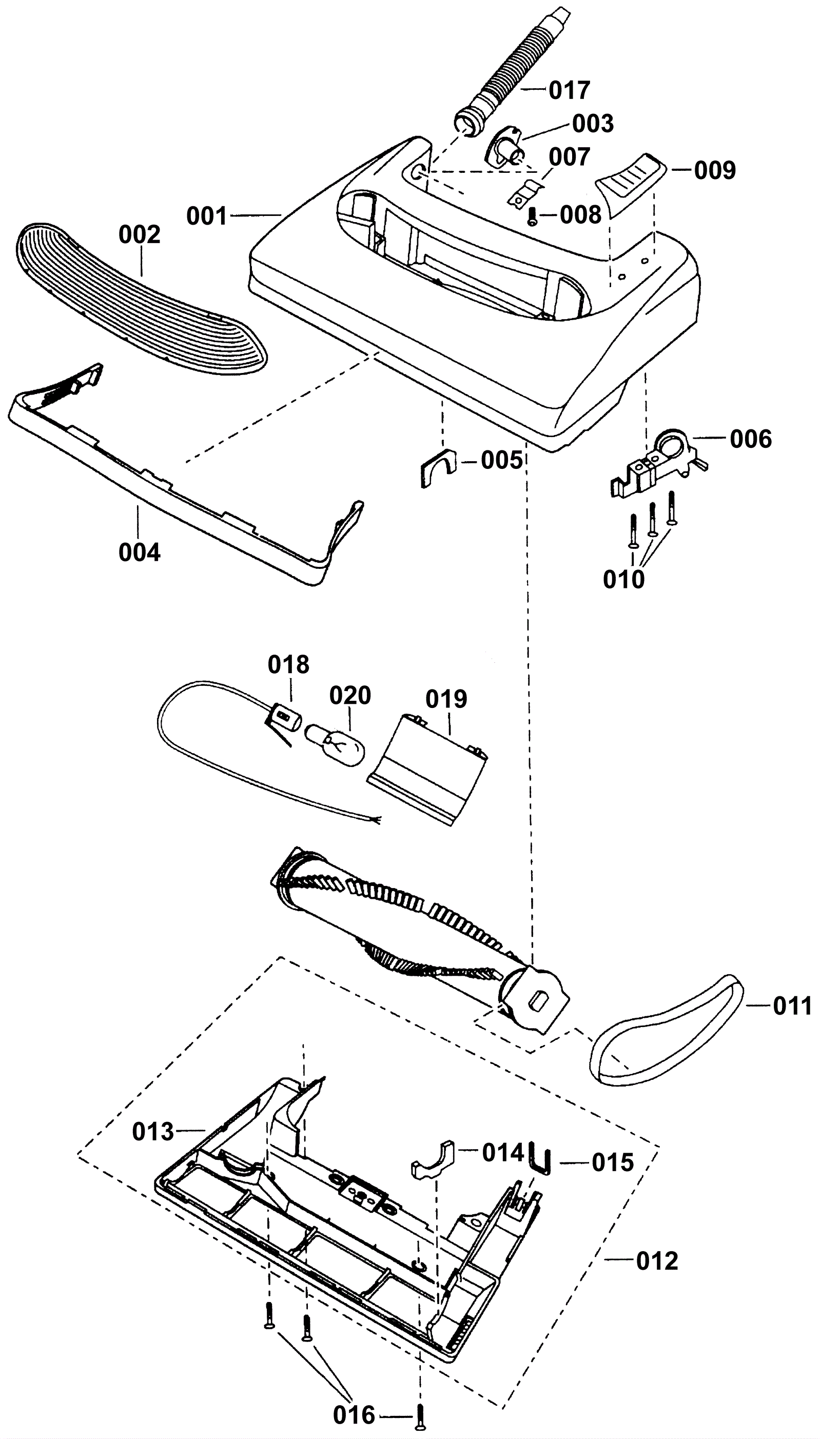
Nozzle Housing Assembly
Click to enlarge