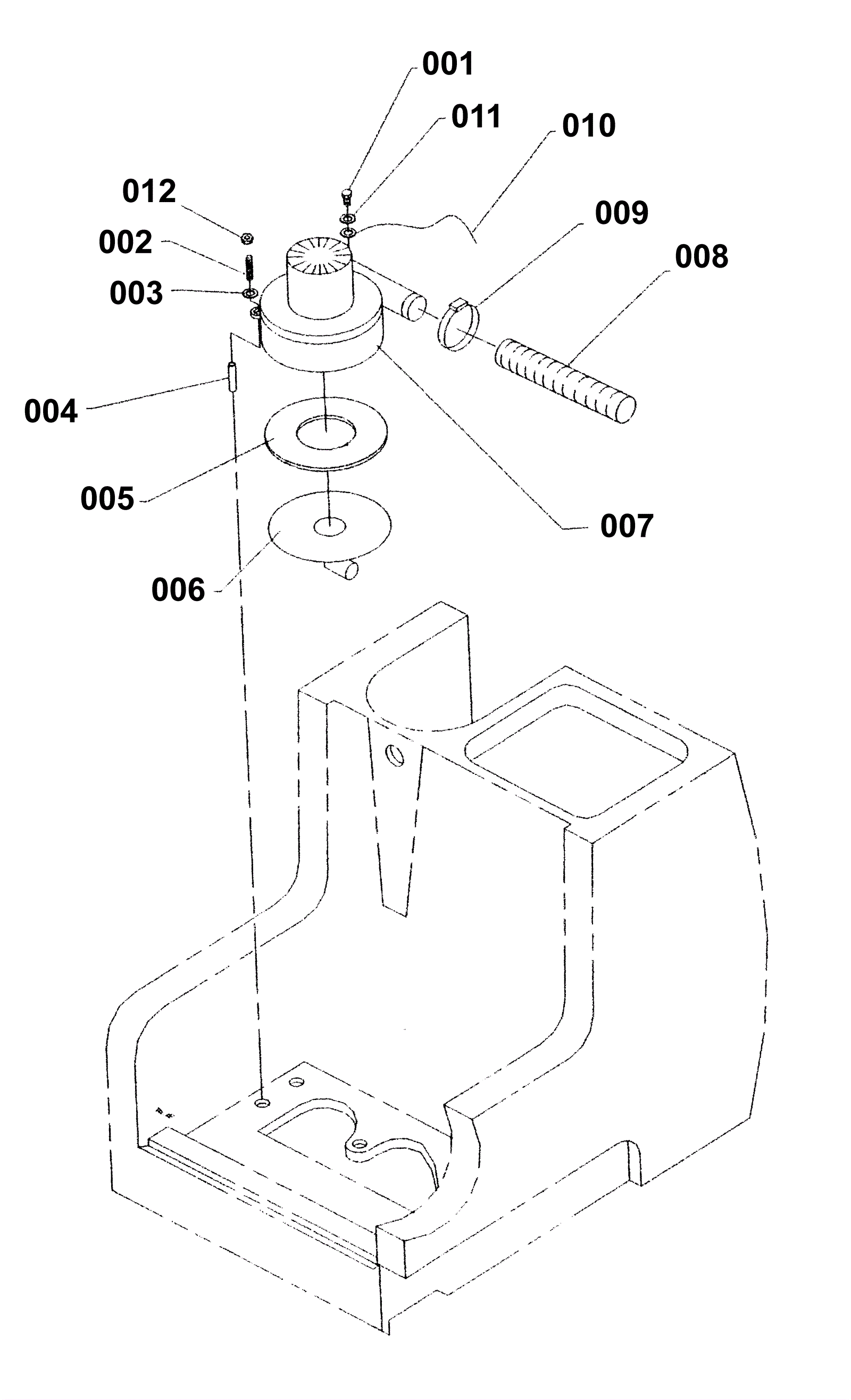
Lower Vacuum Assembly
Click to enlarge