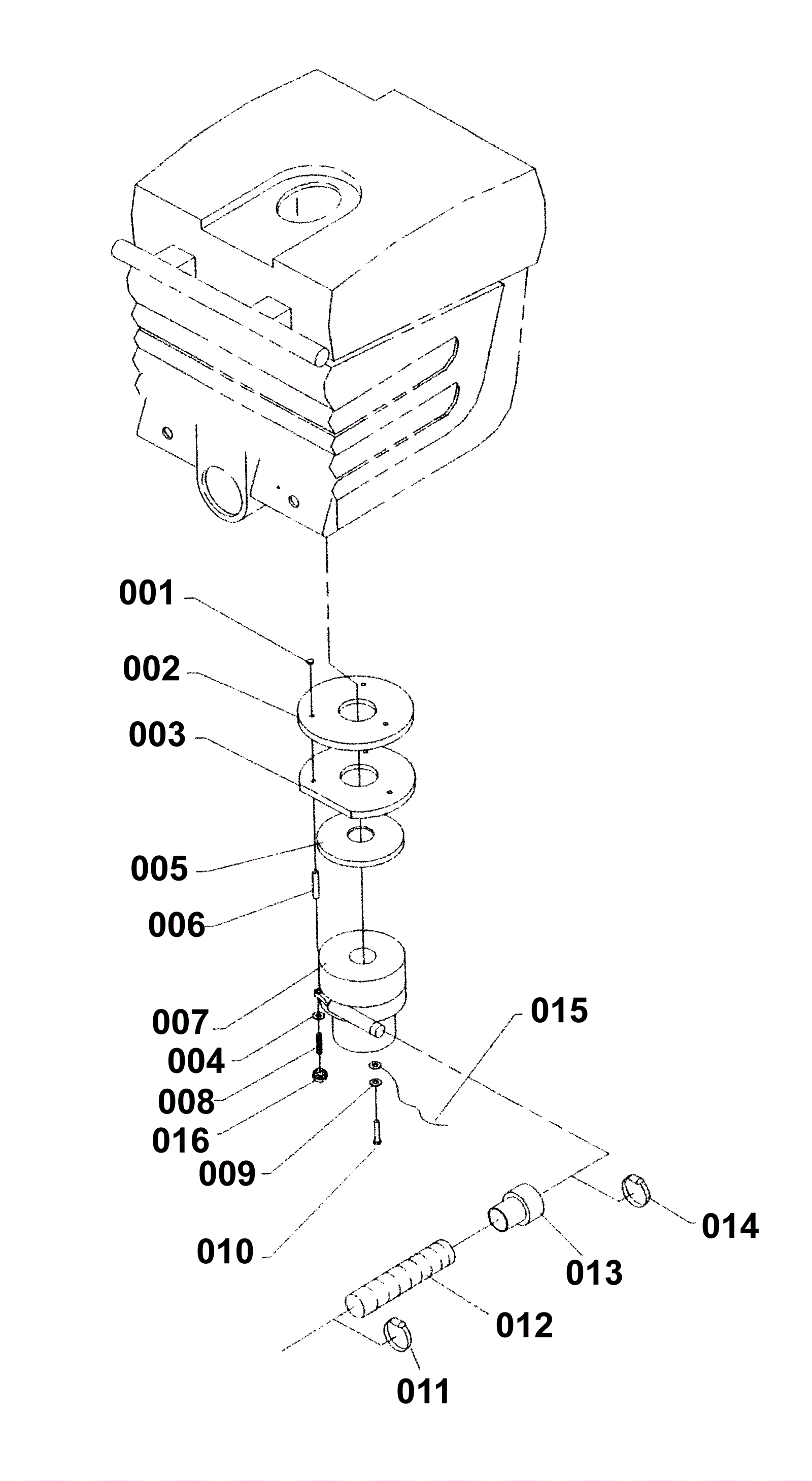
Upper Vacuum Assembly
Click to enlarge