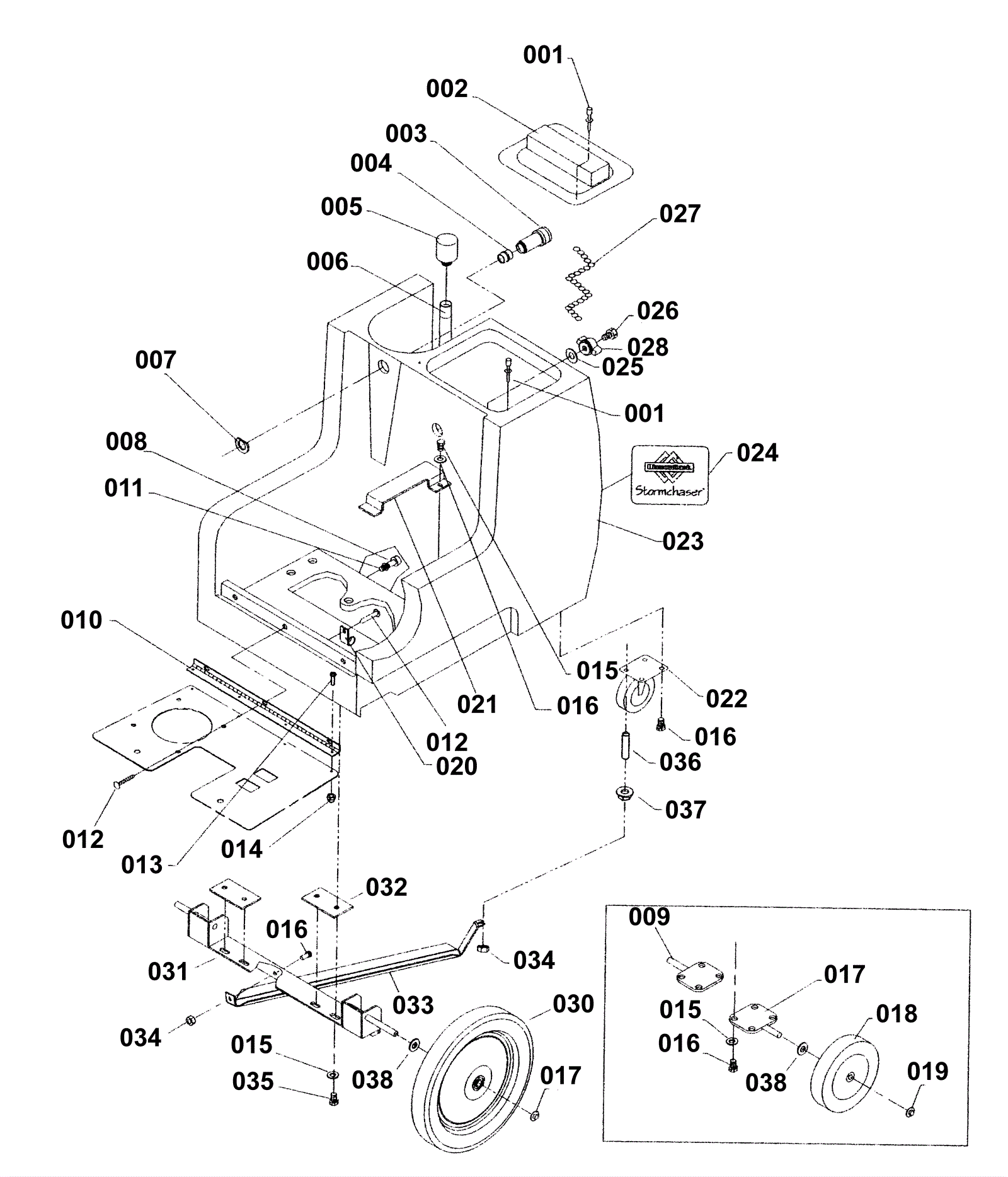
Frame Assembly (200 PSI)
Click to enlarge