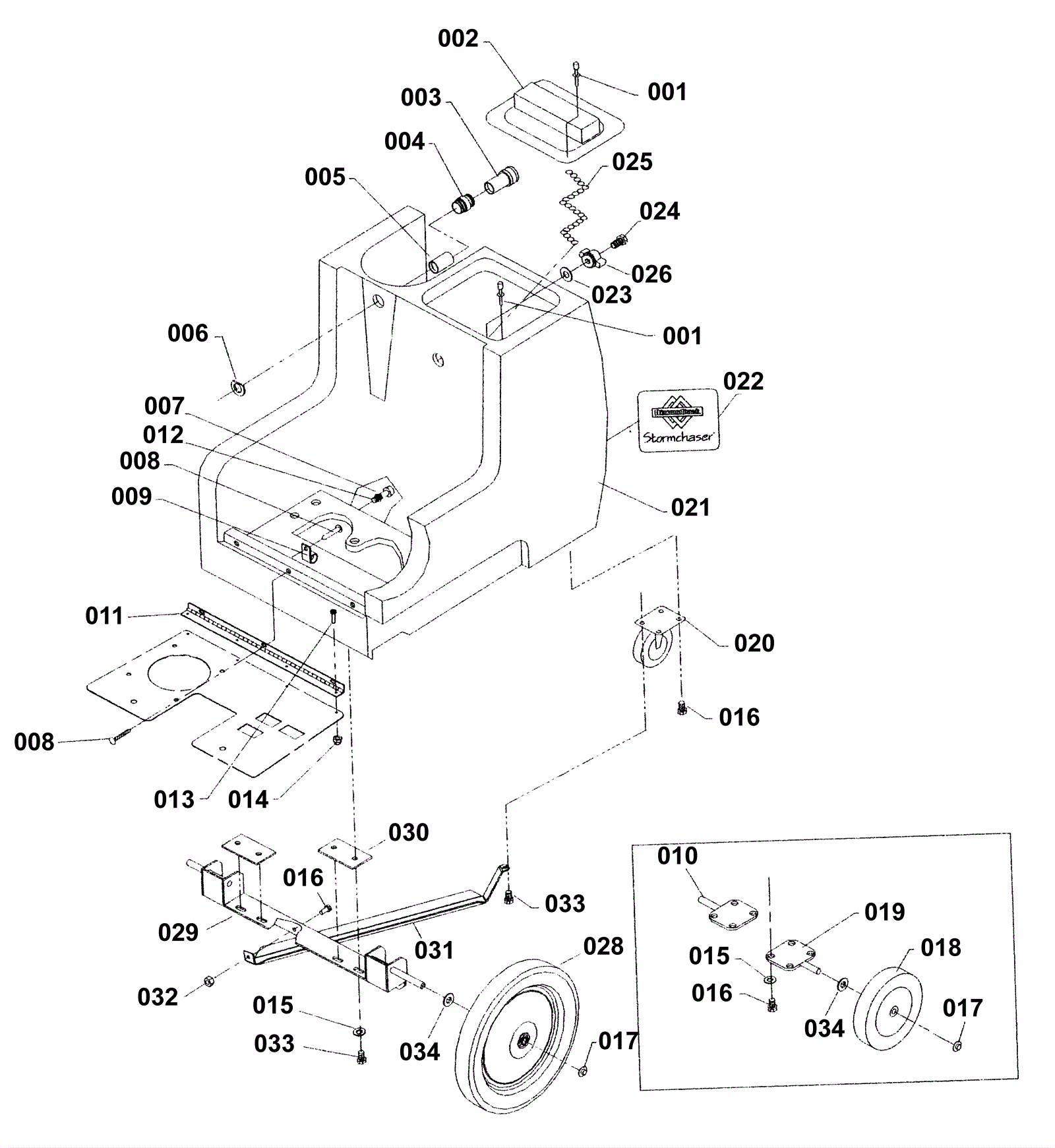
Frame Assembly (100PSI)
Click to enlarge