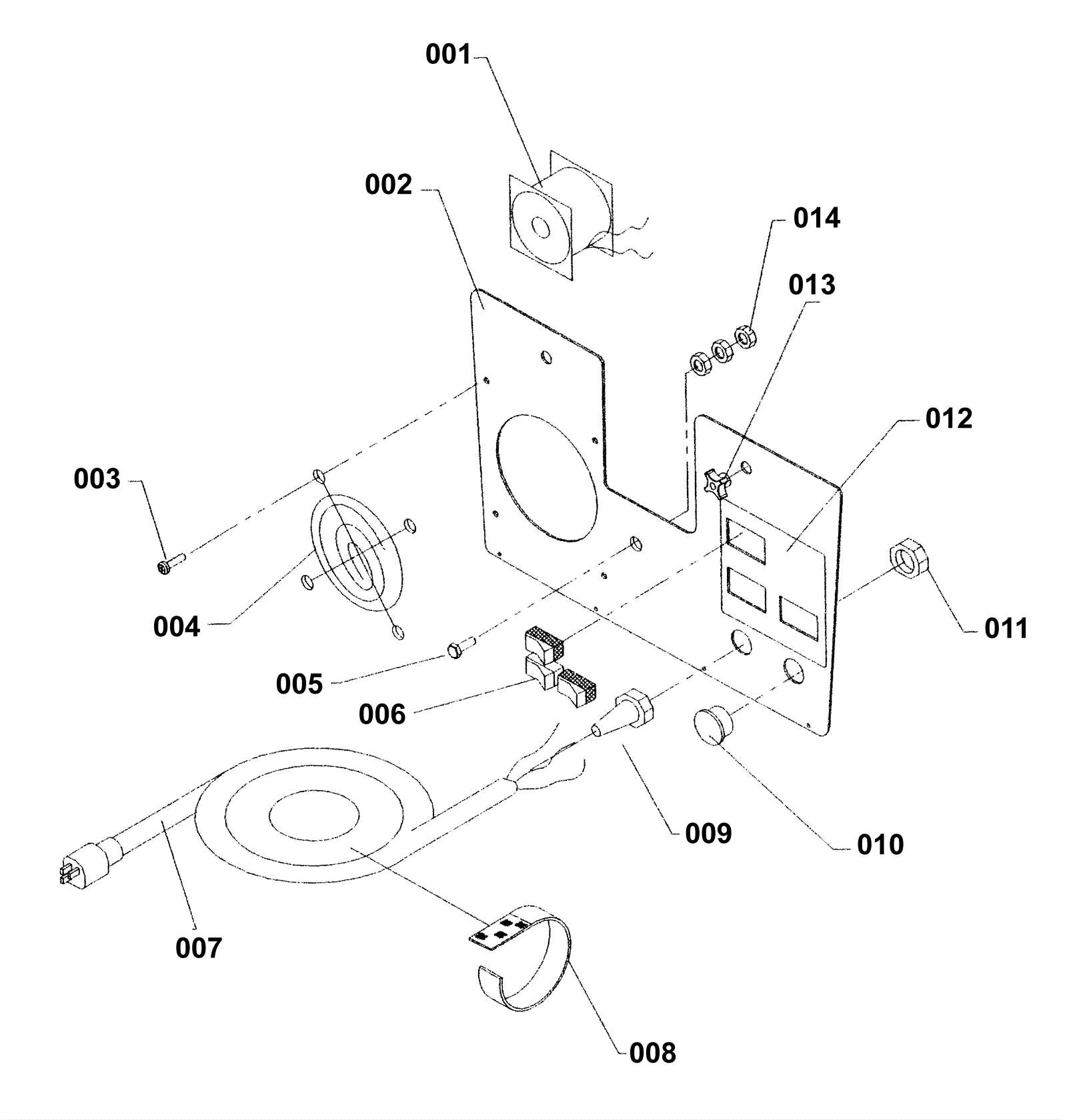
Control Panel Assembly