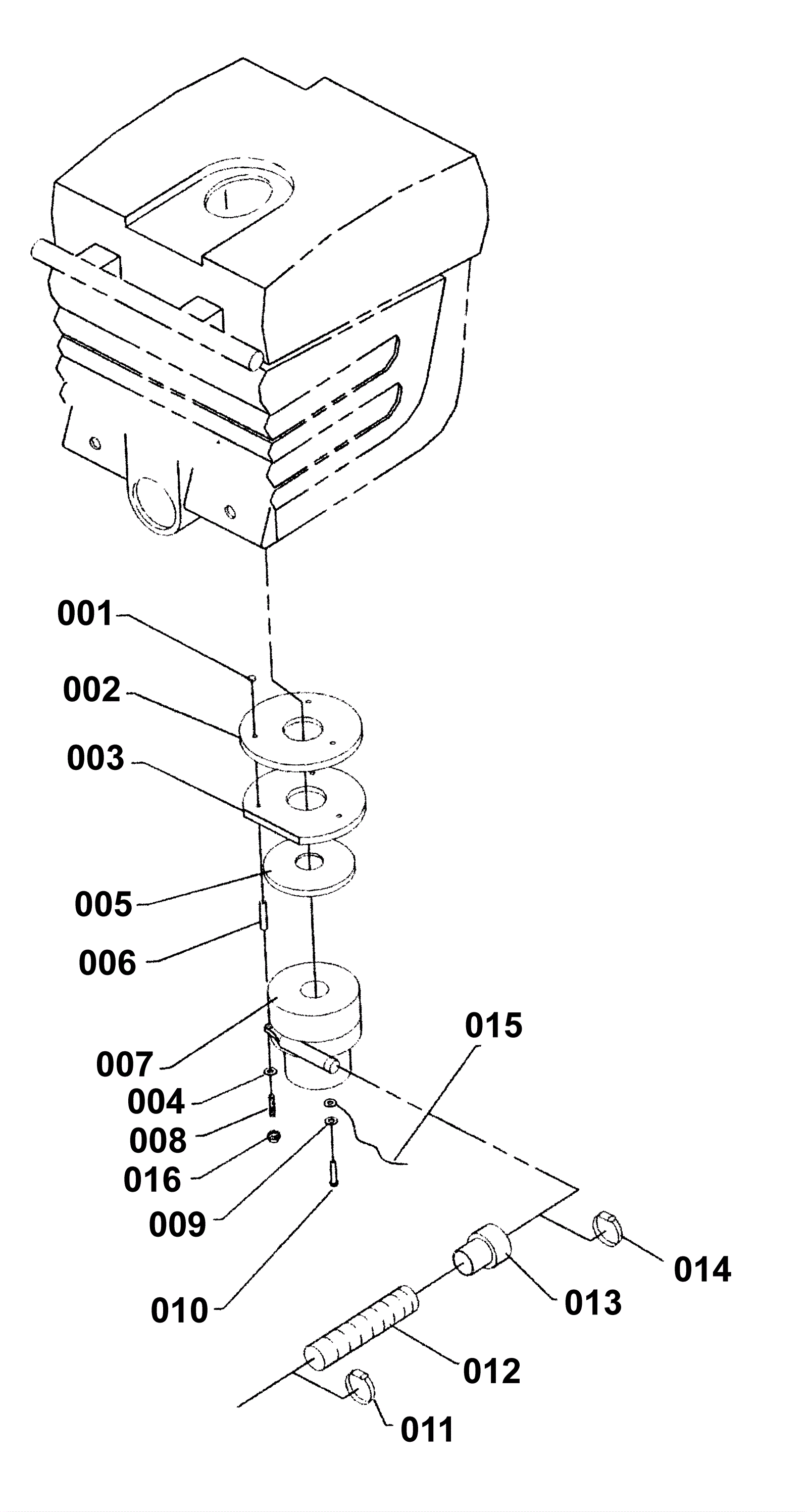
Upper Vacumm Assembly
Click to enlarge