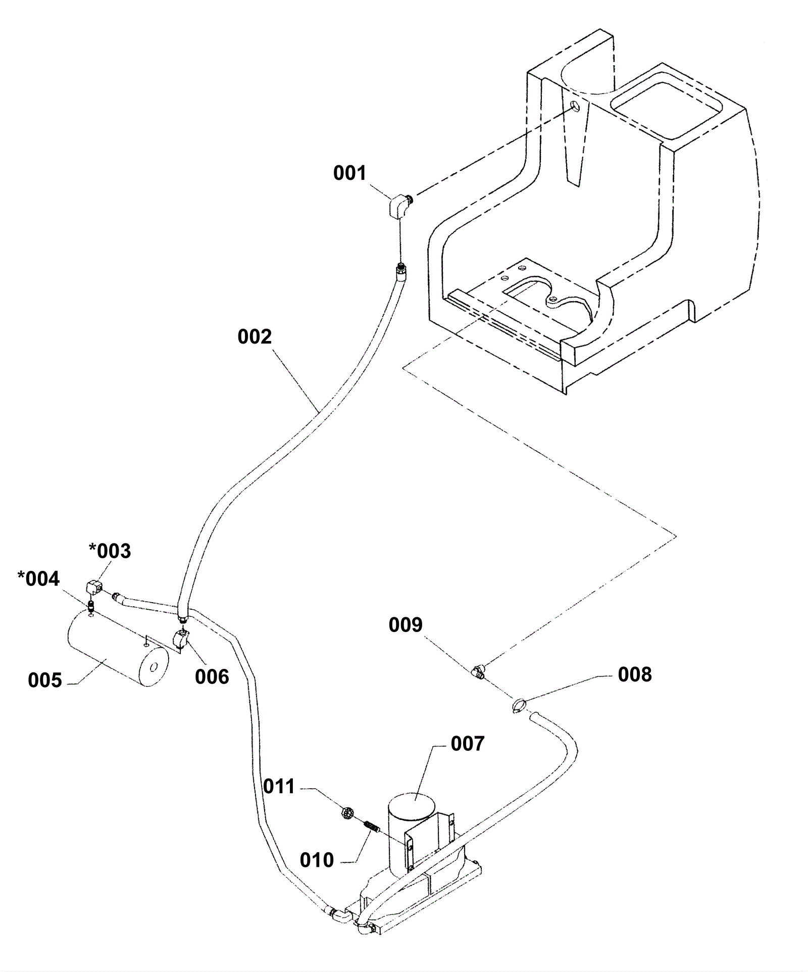
Pump and Heater Assembly (200 PSI)
Click to enlarge