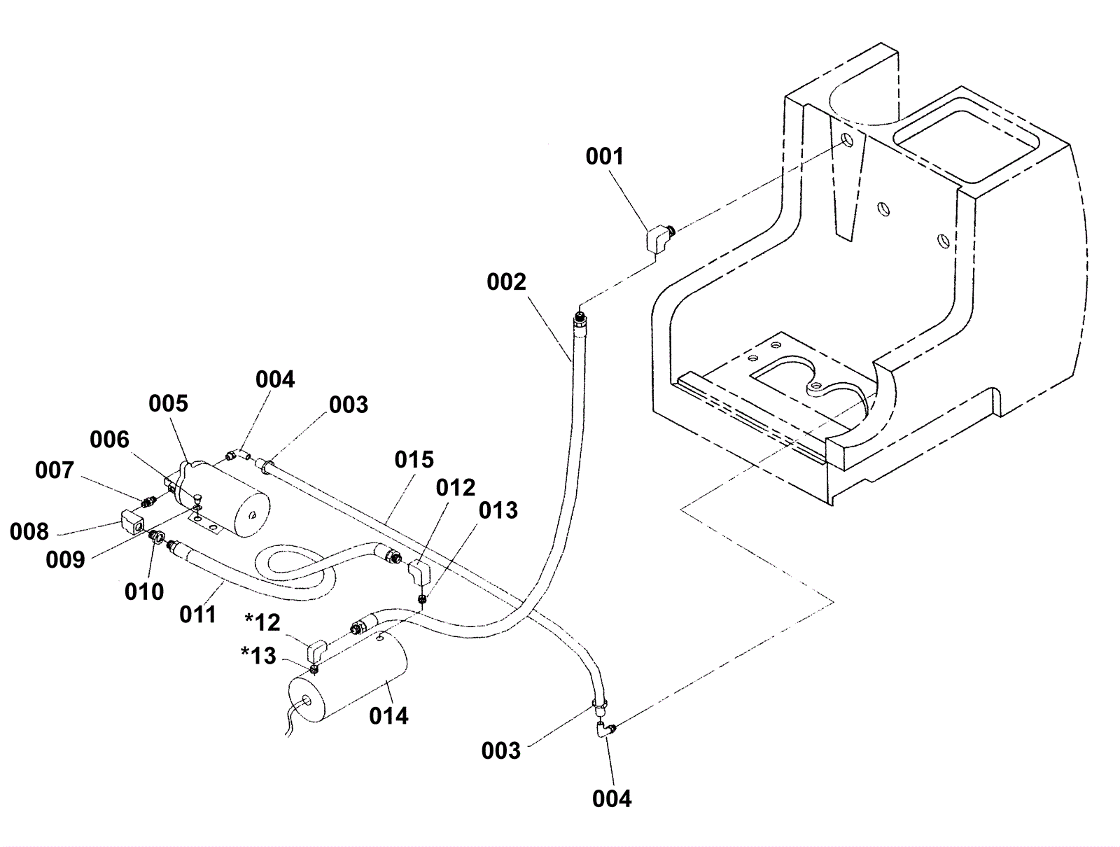
Pump and Heater Assembly (100 PSI)
Click to enlarge