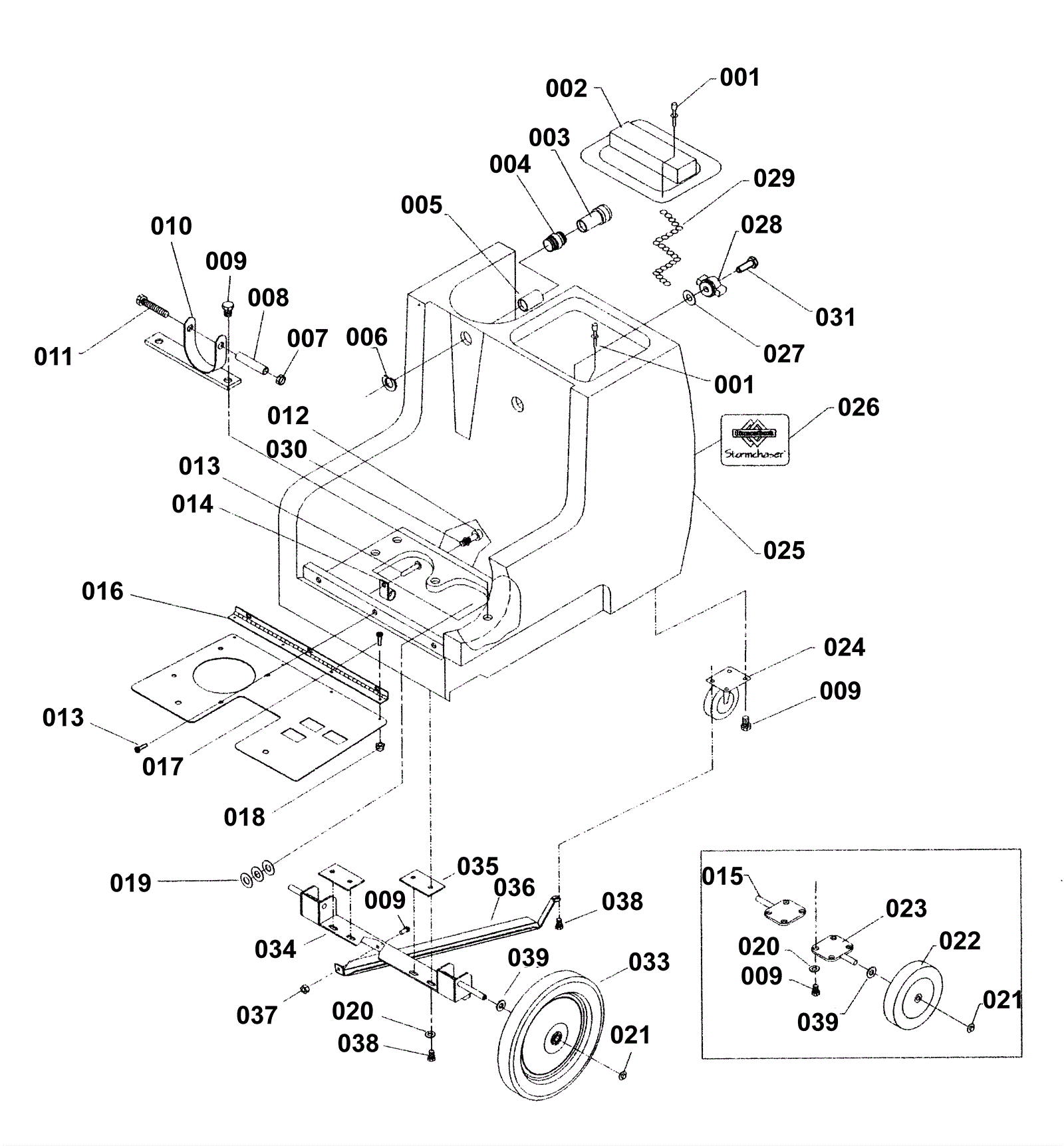
Frame Assembly (100 PSI)
Click to enlarge