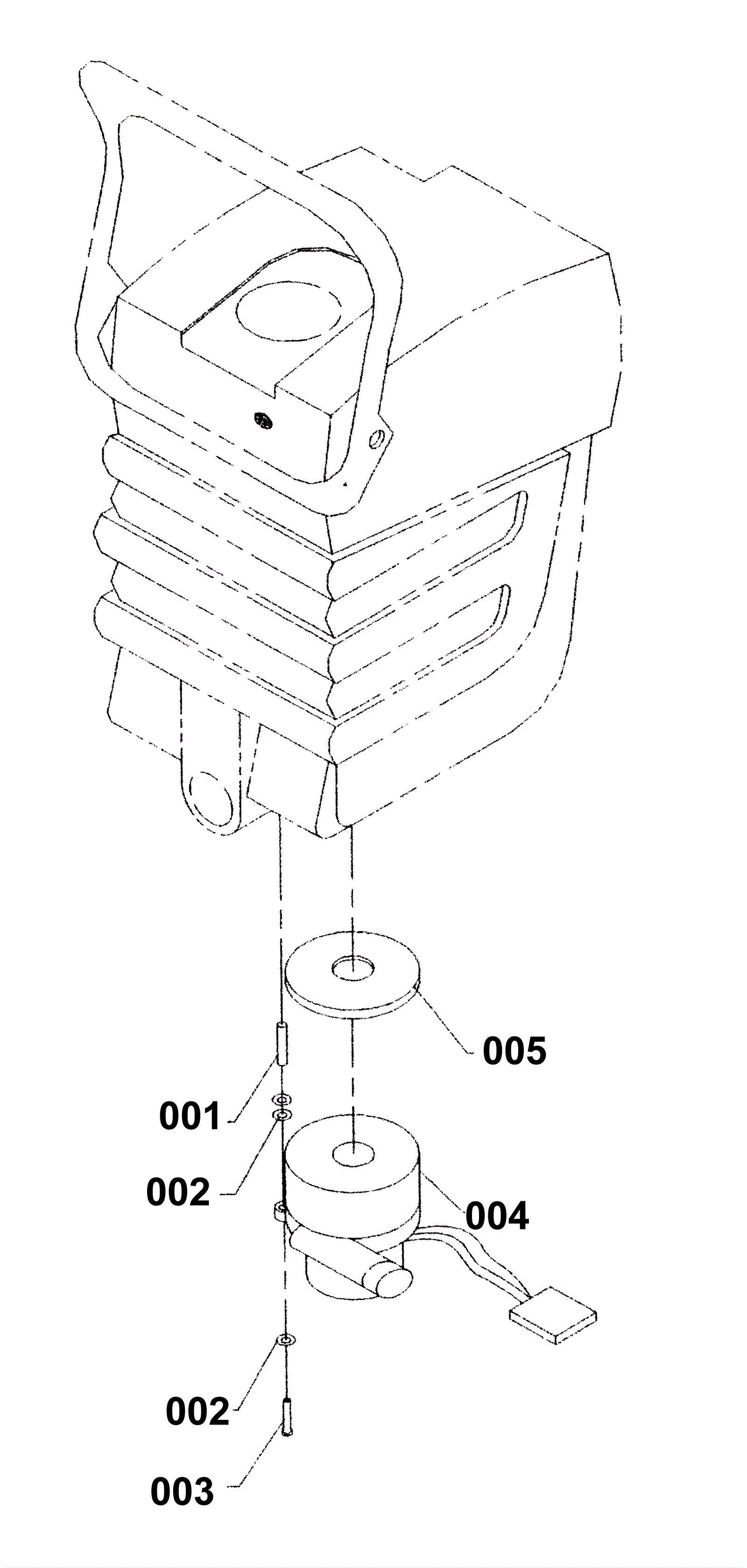
Vac Motor Assembly
Click to enlarge