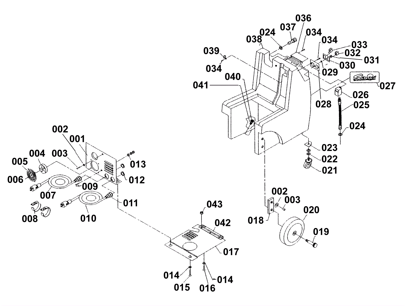
Solution Tank w/Heat Assembly
Click to enlarge