| # | Part | Description | Price | Req | Notes | Availability |
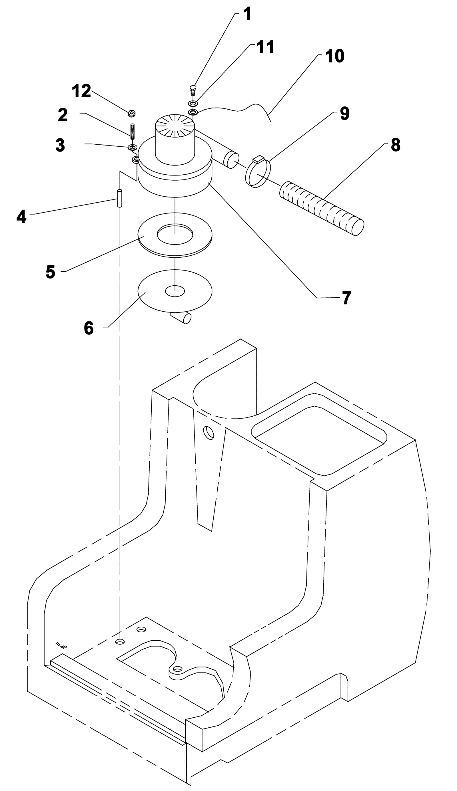
1 |
173-2711
|
Screw 10-32 x 1/2 ground |
$2.11
|
1 |
|
usually ships 1-5 days |
2 |
173-9157
|
14-20 x 3.5 stud stainless steel |
$19.25
|
3 |
|
usually ships 1-5 days |
3 |
999-0123
|
Washer 1/4 SAE flat zinc plated |
$0.99
|
3 |
|
ships same day |
4 |
173-5696
|
Spacer |
$3.80
|
3 |
|
usually ships 11-15 days |
5 |
173-5227
|
Vacuum motor gasket |
$6.53
|
1 |
|
ships same day |
6 |
273-0285
|
Plate assembly |
$225.98
|
1 |
|
usually ships 1-5 days |
7a |
173-7391
|
115V 2 stage vacuum motor assembly |
$533.89
|
1 |
|
usually ships 1-5 days |
7c |
373-5038
|
Carbon brush |
$12.36
|
4 |
|
usually ships 11-15 days |
8 |
173-9158
|
Vac exhaust hose 9 inch |
$8.20
|
1 |
|
usually ships 1-5 days |
9 |
997-2007
|
Hose clamp |
$2.07
|
1 |
|
ships same day |
11 |
999-0311
|
Washer #10 external star lock zinc plated |
$0.99
|
1 |
|
ships same day |
12 |
999-1466
|
Nut 1/4-20 lock with external toothed lockwasher SS |
$0.99
|
3 |
|
ships same day |