| # | Part | Description | Price | Req | Notes | Availability |
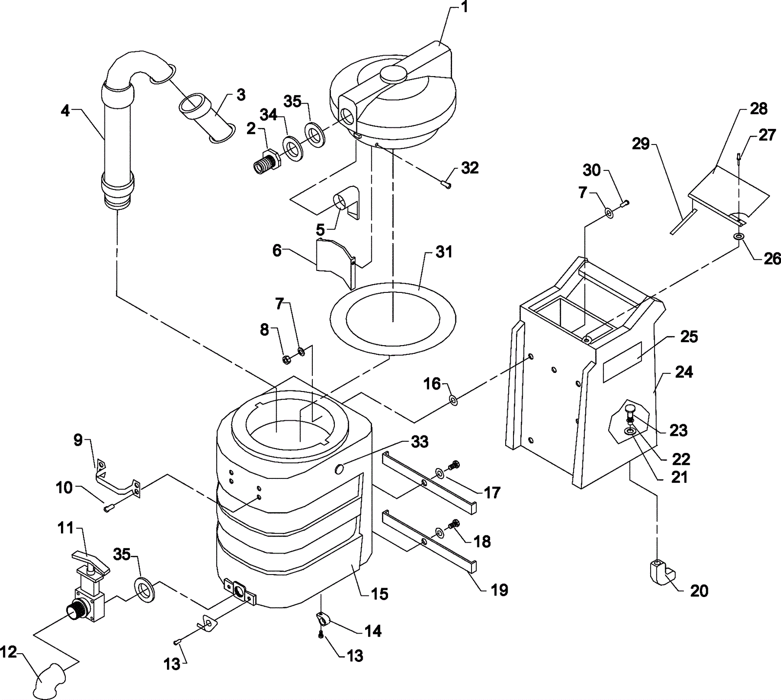
1 |
227-1314
|
NINJA LID COMPLETE ASSEMBLY (OBSOLETE) |
$423.72
|
1 |
|
usually ships 11-12 days |
2 |
173-8660
|
Hosebarb 1.5 X 1.5 |
$12.12
|
1 |
|
usually ships 11-15 days |
3 |
173-5336
|
Float cage assembly |
$47.43
|
1 |
|
usually ships 9-15 days |
4 |
227-1269
|
Stand pipe assembly (OBSOLETE) |
$88.22
|
1 |
|
usually ships 11-12 days |
5 |
227-1270
|
Elbow (OBSOLETE) |
$20.15
|
1 |
|
usually ships 11-12 days |
6 |
227-1271
|
Baffle |
$42.98
|
1 |
|
usually ships 11-12 days |
7 |
227-1272
|
Washer |
$1.45
|
12 |
|
usually ships 11-12 days |
8 |
999-0294
|
Nut 1/4-20 hex nylon lock type NE stainless steel |
$1.18
|
6 |
|
ships same day |
9 |
227-1273
|
Handle |
$30.73
|
1 |
|
usually ships 11-12 days |
10 |
999-1571
|
Screw 1/4-20 x 3/4 flat head socket stainless steel |
$0.99
|
4 |
|
ships same day |
11 |
173-8651
|
Dump valve |
$29.21
|
1 |
|
usually ships 7-10 days |
12 |
227-1274
|
2 inch elbow |
$5.17
|
1 |
|
usually ships 11-12 days |
13 |
999-0811
|
Screw 10-32 x 3/8 pan head phillips stainless steel |
$0.99
|
5 |
|
ships same day |
14 |
173-1139
|
5/8 nylon clamp |
$1.52
|
1 |
|
usually ships 1-5 days |
16 |
227-1276
|
Gasket |
$4.16
|
6 |
|
usually ships 11-12 days |
17 |
999-0123
|
Washer 1/4 SAE flat zinc plated |
$0.99
|
2 |
|
ships same day |
18 |
999-0644
|
Bolt 1/4-20 x 1/2 hex head stainless steel |
$0.99
|
2 |
|
ships same day |
19 |
227-1303
|
Bracket |
Call for price
|
2 |
|
usually ships 11-12 days |
20 |
227-1278
|
45 degree elbow |
$22.46
|
1 |
|
usually ships 11-12 days |
21 |
227-1277
|
Washer |
$5.78
|
1 |
|
usually ships 11-12 days |
22 |
227-1279
|
1/4 hex nipple |
$7.28
|
1 |
|
usually ships 11-12 days |
23 |
227-1280
|
1/4 strainer |
$9.82
|
1 |
|
usually ships 11-12 days |
24 |
227-0039
|
Solution tank |
Call for price
|
1 |
|
usually ships 11-12 days |
25 |
227-1282
|
Decal |
$23.68
|
2 |
|
usually ships 11-12 days |
26 |
173-3904
|
Washer 1/8 rivet backup |
$1.63
|
3 |
|
usually ships 1-5 days |
27 |
227-1283
|
Rivet (OBSOLETE) |
$1.20
|
3 |
|
usually ships 11-12 days |
28 |
227-1284
|
Solution cover |
$90.05
|
1 |
|
usually ships 11-12 days |
29 |
173-2194
|
Foam tape |
$5.08
|
5 in |
|
usually ships 11-15 days |
30 |
999-0136
|
Bolt 1/4-20 x 1 1/4 hex head grade 5 zinc plated |
$0.99
|
6 |
|
ships same day |
31 |
227-1285
|
Lid gasket |
$51.52
|
1 |
|
usually ships 11-12 days |
32 |
173-8658
|
Closed rivet 3/16 X 1/2 |
$0.99
|
2 |
|
usually ships 11-15 days |
33 |
227-1257
|
Brass pipe plug |
$5.06
|
1 |
|
usually ships 11-12 days |
34 |
173-8666
|
Hosebarb washer |
$6.37
|
1 |
|
ships same day |
35 |
173-8653
|
Dump valve gasket |
$7.24
|
2 |
|
usually ships 11-15 days |