| # | Part | Description | Price | Req | Notes | Availability |
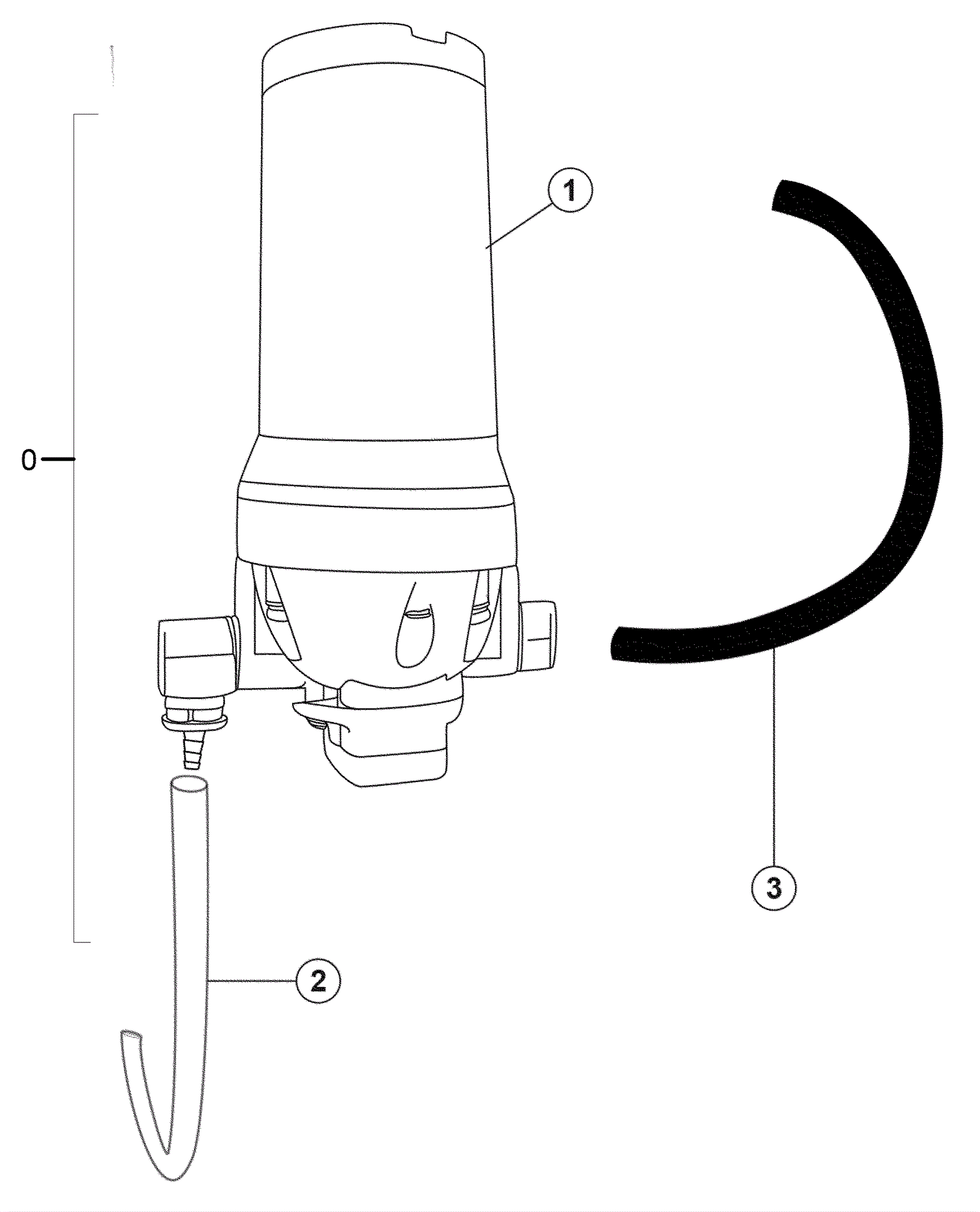
0a |
225-2081
|
PUMP ASSEM COMPLETE FOR CORDED CC W/O FILTER ETL |
$644.95
|
1 |
(Corded) (includes 1a-3) |
ships same day |
0b |
225-2097
|
Pump assembly (KV17501QCBATT) |
$649.33
|
1 |
(Battery) (includes 1b-3) |
ships same day |
1a |
225-2104
|
115v pump 100PSI |
$532.27
|
1 |
(Corded) |
ships same day |
1b |
225-1141
|
36V 100 PSI pump |
$491.15
|
1 |
(Battery) |
ships same day |
2 |
225-0524
|
Water line |
$25.33
|
1 |
|
ships same day |
3 |
225-0515
|
24 inch pulse hose assembly |
$43.19
|
1 |
|
ships same day |