| # | Part | Description | Price | Req | Notes | Availability |
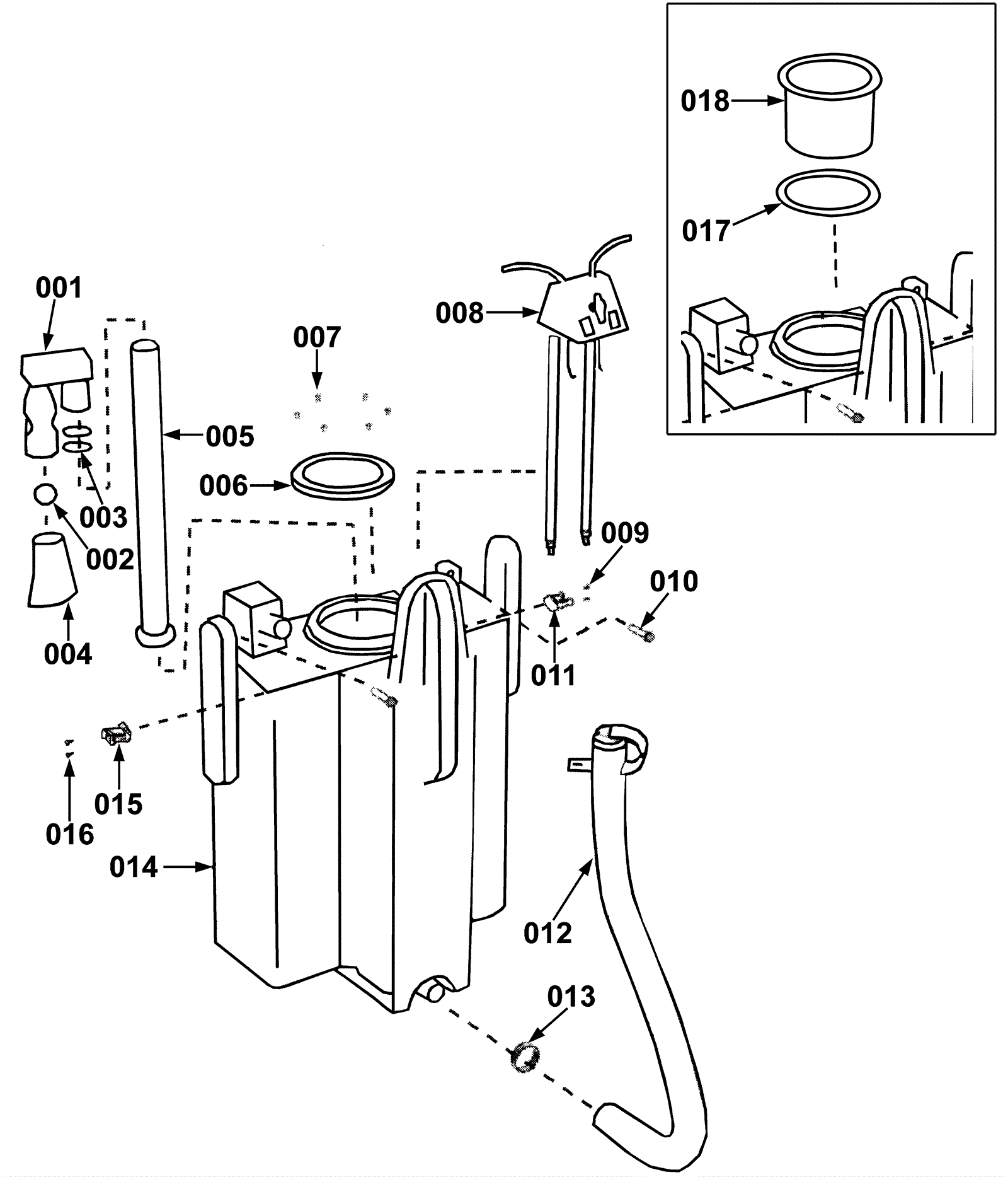
001 |
225-0049
|
Float shut off assembly |
$300.85
|
1 |
|
usually ships 12-19 days |
002 |
225-0093
|
2 inch plastic ball |
$5.50
|
1 |
|
ships same day |
003 |
225-0096
|
O-ring |
$0.99
|
2 |
|
usually ships 12-19 days |
004 |
225-0095
|
Filter bag |
$19.15
|
1 |
|
usually ships 12-19 days |
005 |
225-0050
|
Standpipe assembly |
$30.24
|
1 |
|
usually ships 1-5 days |
006 |
225-0354
|
6 inch tank lid (black) |
$68.18
|
1 |
(before SN 1257) |
ships same day |
007 |
225-0145
|
Screw 3/4 inch stainless steel |
$0.99
|
6 |
(before SN 1257) |
usually ships 12-19 days |
008a |
225-0011
|
Electrical box and chemical line assembly (2 2-way switches) |
$1,035.41
|
1 |
|
ships same day |
008b |
225-0429
|
Electrical box and chemical line assembly (1 2-way, 1 3-way) |
$1,132.56
|
1 |
|
usually ships 12-19 days |
009 |
999-1124
|
Screw 8-32 x 3/4 flat head square stainless steel |
$0.99
|
2 |
|
ships same day |
010 |
999-0350
|
Bolt 3/8-16 x 1 1/2 hex head grade 5 zinc plated |
$0.99
|
1 |
|
ships same day |
011 |
225-0015
|
Clamp #13 |
$6.96
|
1 |
|
ships same day |
012a |
225-0043
|
Drain hose assembly |
$122.28
|
1 |
(before SN 2247) |
usually ships 12-19 days |
012b |
225-0043
|
Drain hose assembly |
$122.28
|
1 |
(after SN 2246) |
usually ships 12-19 days |
013 |
997-2003
|
Hose clamp |
$2.66
|
1 |
|
ships same day |
014 |
225-0410
|
Vacuum tank assembly |
$1,433.91
|
1 |
(for Kaivac 2150, the customer needs to verify if they have a single or dual chemical model as this only works for dual models and there is no longer an option for the single chemical model) |
usually ships 12-19 days |
015 |
225-0034
|
Clamp #15 |
$12.98
|
1 |
|
ships same day |
016 |
999-1124
|
Screw 8-32 x 3/4 flat head square stainless steel |
$0.99
|
1 |
|
ships same day |
017 |
225-0236
|
Tank lid gasket |
$17.00
|
1 |
|
usually ships 12-19 days |
018a |
225-0560
|
Jug holder vac lid assembly |
$77.18
|
1 |
(after SN 1256 and before SN 2247) |
ships same day |
018b |
225-0560
|
Jug holder vac lid assembly |
$77.18
|
1 |
(after SN 2246) |
ships same day |