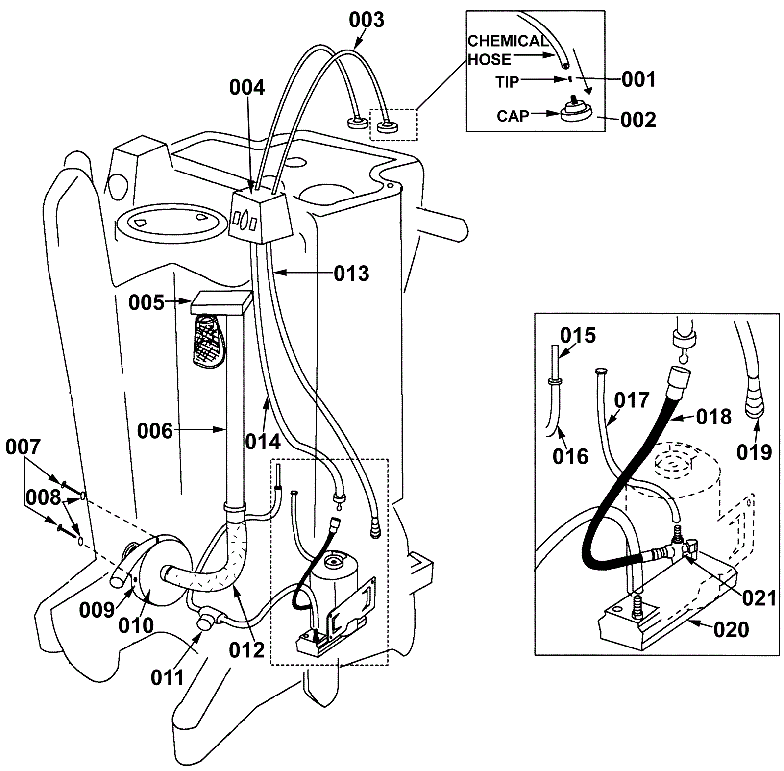
| # | Part | Description | Price | Req | Notes | Availability |
001a |
225-0037
|
Metering tip pack |
$47.70
|
|
Metering tip package includes 2 of each colored metering tip, a chemical cap, plastic safety cap, and allen wrench. |
ships same day |
001b |
225-0038
|
Orange metering tips |
$2.41
|
|
|
ships same day |
001c |
225-0039
|
Aqua metering tip |
$3.63
|
|
|
usually ships 12-19 days |
001d |
225-0040
|
Black metering tip |
$3.63
|
|
|
ships same day |
001e |
225-0041
|
Tan metering tips |
$2.41
|
|
|
usually ships 12-19 days |
002 |
225-0033
|
Yellow safety cap (white cap no longer available) |
$20.67
|
|
|
ships same day |
003 |
225-0048
|
1/4 inch chemical hose (sold by the foot) |
$5.42
|
|
|
ships same day |
004a |
225-0011
|
Electrical box and chemical line assembly (2 2-way switches) |
$1,035.41
|
|
|
ships same day |
004b |
225-0074
|
Switch box (cover only) |
$125.70
|
|
|
usually ships 12-19 days |
005 |
225-0049
|
Float shut off assembly |
$300.85
|
|
|
usually ships 12-19 days |
006 |
225-0050
|
Standpipe assembly |
$30.24
|
|
|
usually ships 1-5 days |
007 |
999-1123
|
Screw 1/4-20 x 4 flat head phillips stainless steel |
$2.77
|
|
|
ships same day |
008 |
999-0016
|
Washer 1/4 flat plain finish |
$0.99
|
|
|
ships same day |
009 |
999-0152
|
Nut 1/4-20 nylon insert lock zinc plated |
$0.99
|
|
|
ships same day |
010 |
991-1229
|
120V 2 stage vacuum motor tangential (OBSOLETE) |
$832.40
|
|
|
usually ships 12-19 days |
011 |
225-0051
|
Water filter (1/2 inch barbs on each side) |
$35.61
|
|
|
ships same day |
012a |
225-0297
|
33 foot slinky vacuum hose assembly |
$90.86
|
1 |
(OEM) |
ships same day |
12b |
991-7122
|
33 foot vacuum hose with cuffs |
$128.27
|
1 |
(NON-OEM) |
ships same day |
012c |
225-0052
|
Retaining ring |
$12.66
|
|
|
ships same day |
013 |
225-0054
|
Herc hose assembly |
$71.10
|
|
Entire hercules hose assembly |
ships same day |
014 |
225-0054
|
Herc hose assembly |
$71.10
|
|
Hose only |
ships same day |
015 |
225-0055
|
Finger filter |
$3.39
|
|
|
ships same day |
016 |
225-0268
|
Water hose |
$12.96
|
|
|
usually ships 12-19 days |
017 |
225-0057
|
Water return line |
$18.79
|
|
|
usually ships 12-19 days |
018 |
225-0058
|
Pulse hose |
$150.90
|
|
|
usually ships 12-19 days |
019 |
225-0059
|
3/8 quick disconnect coupling |
$42.30
|
|
|
usually ships 12-19 days |
020 |
225-0060
|
500 PSI pump and motor assembly - Plumbing on side (OBSOLETE |
$2,748.12
|
|
|
usually ships 12-19 days |
021a |
225-0061
|
Unloader/check valve |
$248.69
|
|
(OEM) |
usually ships 12-19 days |
021b |
991-7121
|
Unloader valve |
$100.37
|
|
(NON-OEM) |
usually ships 18-24 days |
N/S |
225-0647
|
Old vacuum motor w/ inlet port (OBSOLETE) |
$654.59
|
|
|
usually ships 12-19 days |