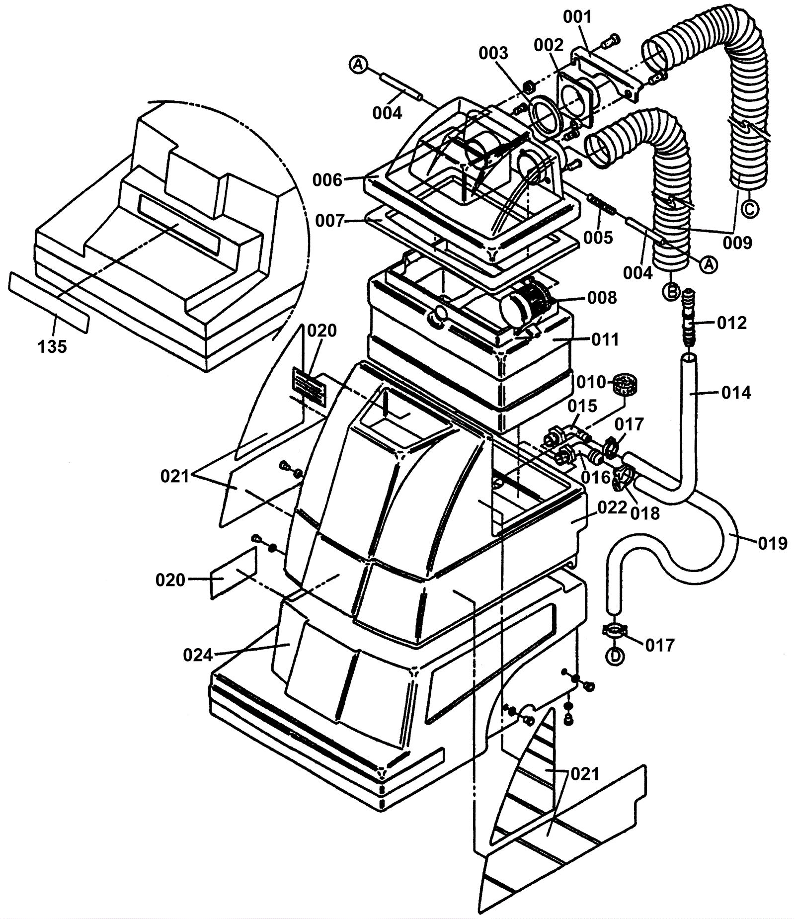
| # | Part | Description | Price | Req | Notes | Availability |
001 |
221-0001
|
Adapter retainer clip |
$21.65
|
1 |
|
usually ships 16-20 days |
002 |
221-0002
|
Hose adapter |
$13.51
|
1 |
|
usually ships 16-20 days |
003 |
221-0003
|
Vacuum intake seal |
$19.33
|
1 |
|
ships same day |
004 |
221-0004
|
Lid pivot shaft |
$4.43
|
2 |
|
usually ships 16-20 days |
005 |
221-0005
|
Dome pivot spring |
$6.05
|
1 |
|
ships same day |
006 |
221-0006
|
Vacuum lid assembly |
$535.83
|
1 |
|
usually ships 16-20 days |
007 |
221-0007
|
Vacuum lid gasket |
$22.96
|
1 |
|
ships same day |
008 |
221-0008
|
Vacuum lid filter screen assembly |
$27.17
|
1 |
|
usually ships 16-20 days |
009 |
221-0009
|
Wire reinforced 2 inch vacuum hose (by the foot) |
$8.58
|
2 |
|
ships same day |
010 |
221-0010
|
Solution tank plug |
$2.09
|
1 |
|
ships same day |
011a |
221-0011
|
Recovery pail |
$125.30
|
1 |
(for the 500) |
usually ships 16-20 days |
011b |
221-0012
|
Recovery pail |
$118.98
|
1 |
(for the 700) |
usually ships 16-20 days |
012 |
221-0013
|
Drain nozzle |
$4.96
|
1 |
|
usually ships 1-5 days |
014 |
221-0014
|
Drain hose |
$3.03
|
1 |
|
usually ships 16-20 days |
015 |
221-0015
|
90 degree elbow |
$1.82
|
1 |
|
usually ships 16-20 days |
016 |
221-0016
|
90 degree elbow |
$2.87
|
1 |
|
usually ships 16-20 days |
017 |
221-0017
|
Hose clamp 5/8 |
$1.82
|
2 |
|
usually ships 16-20 days |
018 |
221-0018
|
Hose clamp 7/8 |
$1.09
|
1 |
|
usually ships 1-5 days |
019 |
221-0019
|
Solution hose 3/8 ID |
$2.59
|
1 |
|
usually ships 1-5 days |
020 |
221-0020
|
Label kit (OBSOLETE) |
Call for price
|
1 |
|
usually ships 1-5 days |
021a |
221-0021
|
Decal kit (OBSOLETE) |
Call for price
|
1 |
(for the 500) |
usually ships 1-5 days |
021b |
221-0022
|
Decal kit (OBSOLETE) |
$40.17
|
1 |
(for the 700) |
usually ships 1-5 days |
022a |
221-0023
|
Solution tank assembly (OBSOLETE) |
Call for price
|
1 |
(for the 500) |
usually ships 1-5 days |
022b |
221-0024
|
Solution tank assembly (OBSOLETE) |
Call for price
|
1 |
(for the 700) |
usually ships 1-5 days |
024 |
221-0025
|
Motor housing |
$130.57
|
1 |
|
usually ships 1-5 days |
135 |
221-0027
|
Two way label |
$2.06
|
1 |
|
usually ships 1-5 days |
N/S |
221-0026
|
Label kit (OBSOLETE) |
Call for price
|
1 |
|
usually ships 1-5 days |