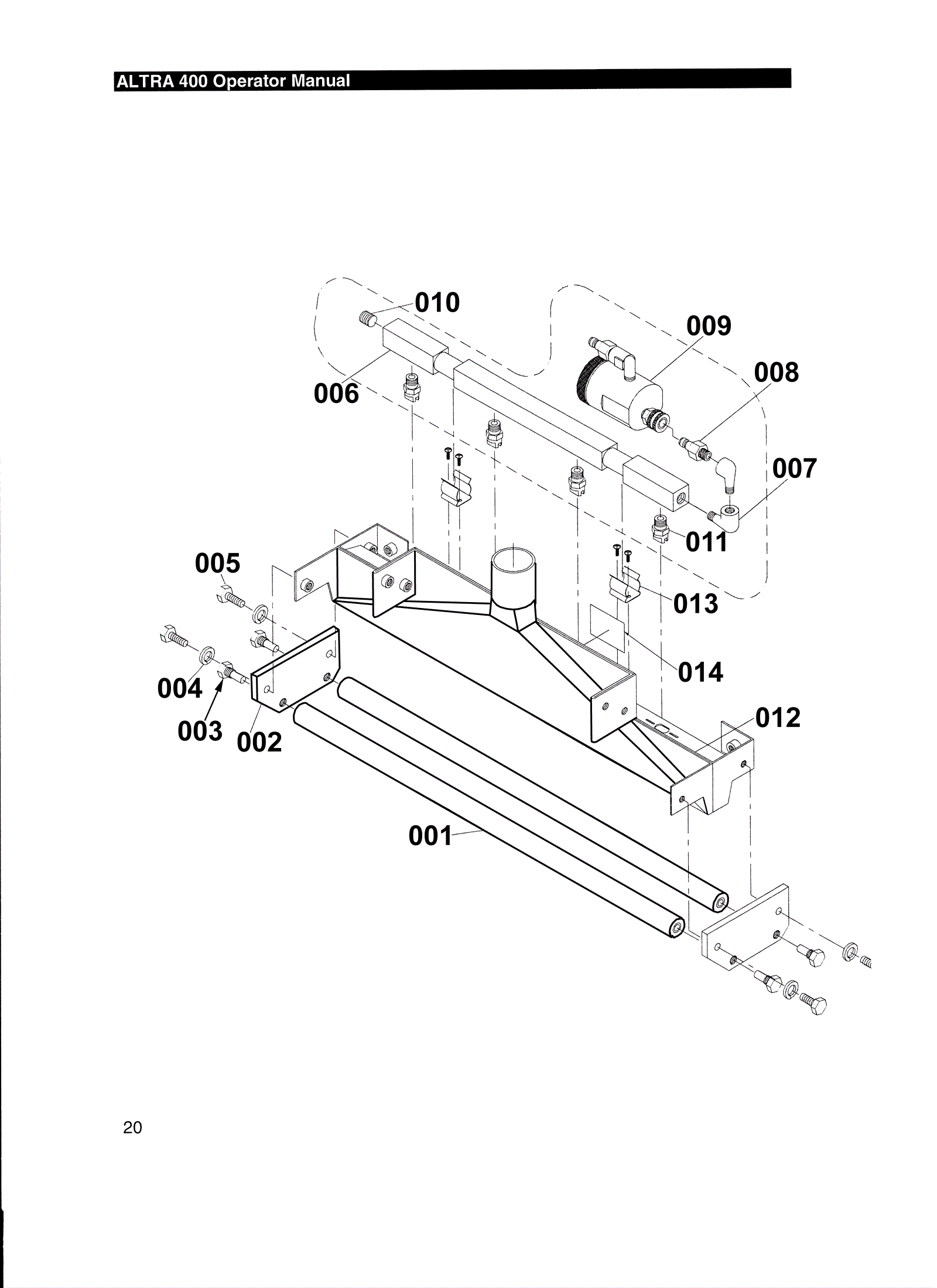
ALTRA 400
Tool Head Assembly
Click to enlarge
#
Part
Description
Price
Req
Notes
Availability
006
216-0215
Spray bar
$278.84
1
usually ships 14-18 days
011
216-0027
1/8 inch NPT spray nozzle
$75.43
4
usually ships 14-18 days