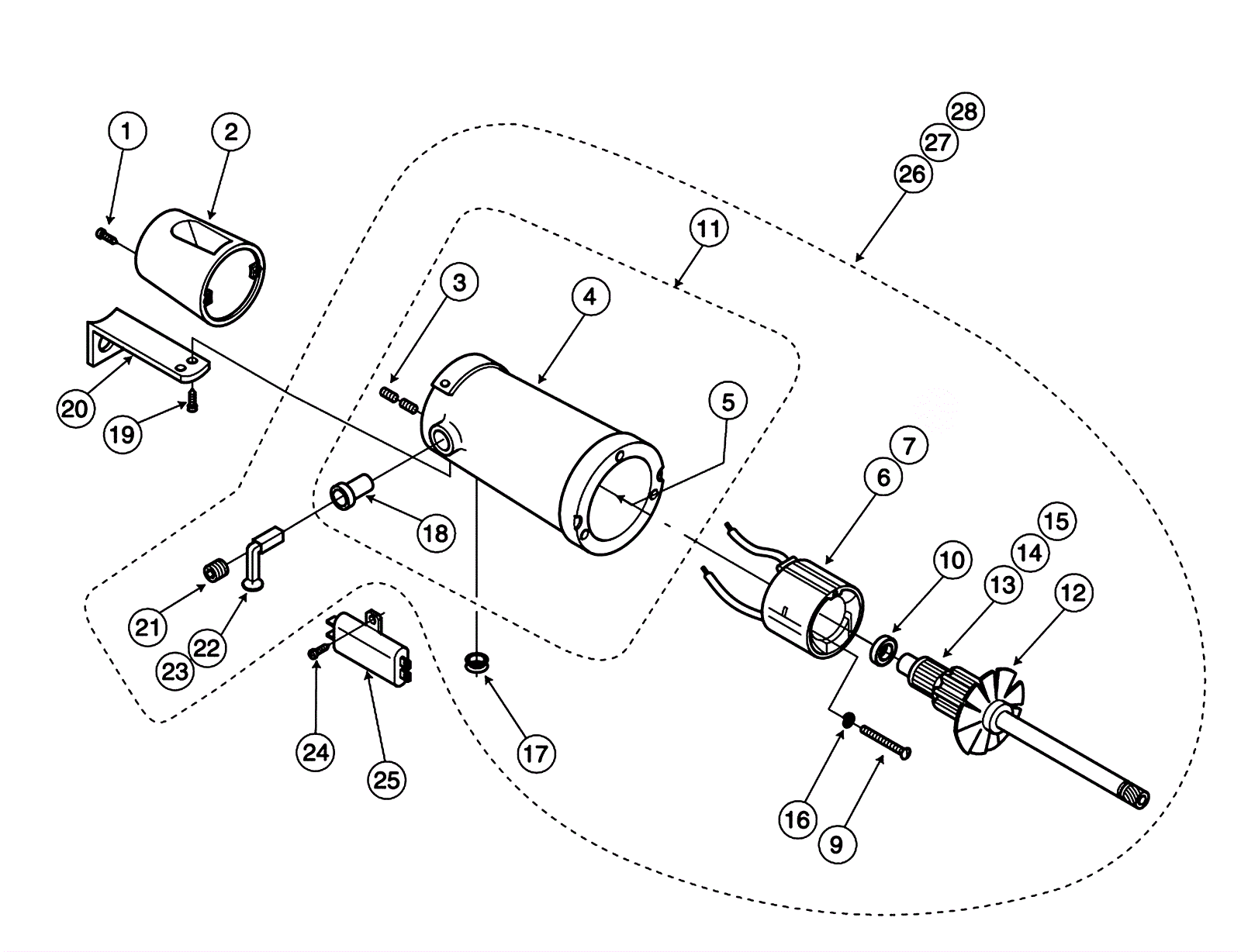
Motor Case Assembly
Click to enlarge
#
Part
Description
Price
Req
Notes
Availability
27
212-0009
Brush motor
$792.00
1
(T5)
usually ships 1-5 days