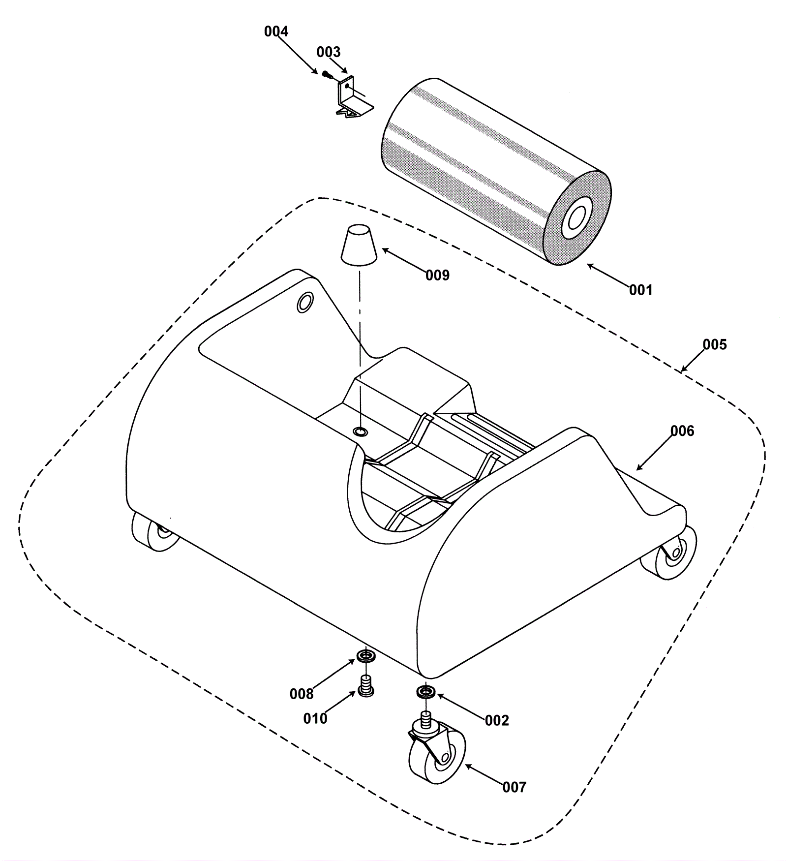
Brush and Tray Assembly
Click to enlarge