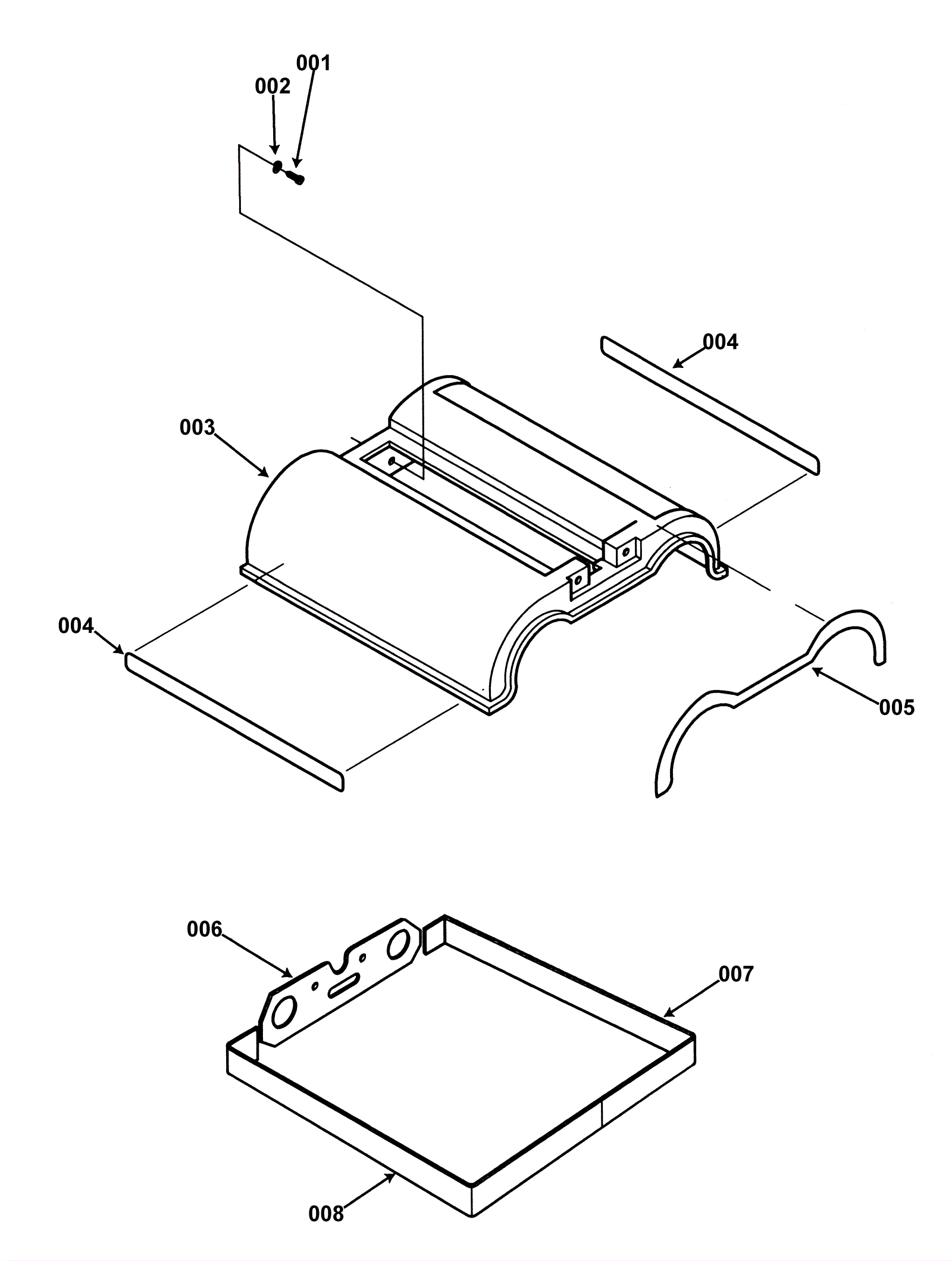
Inner Hood Assembly
Click to enlarge