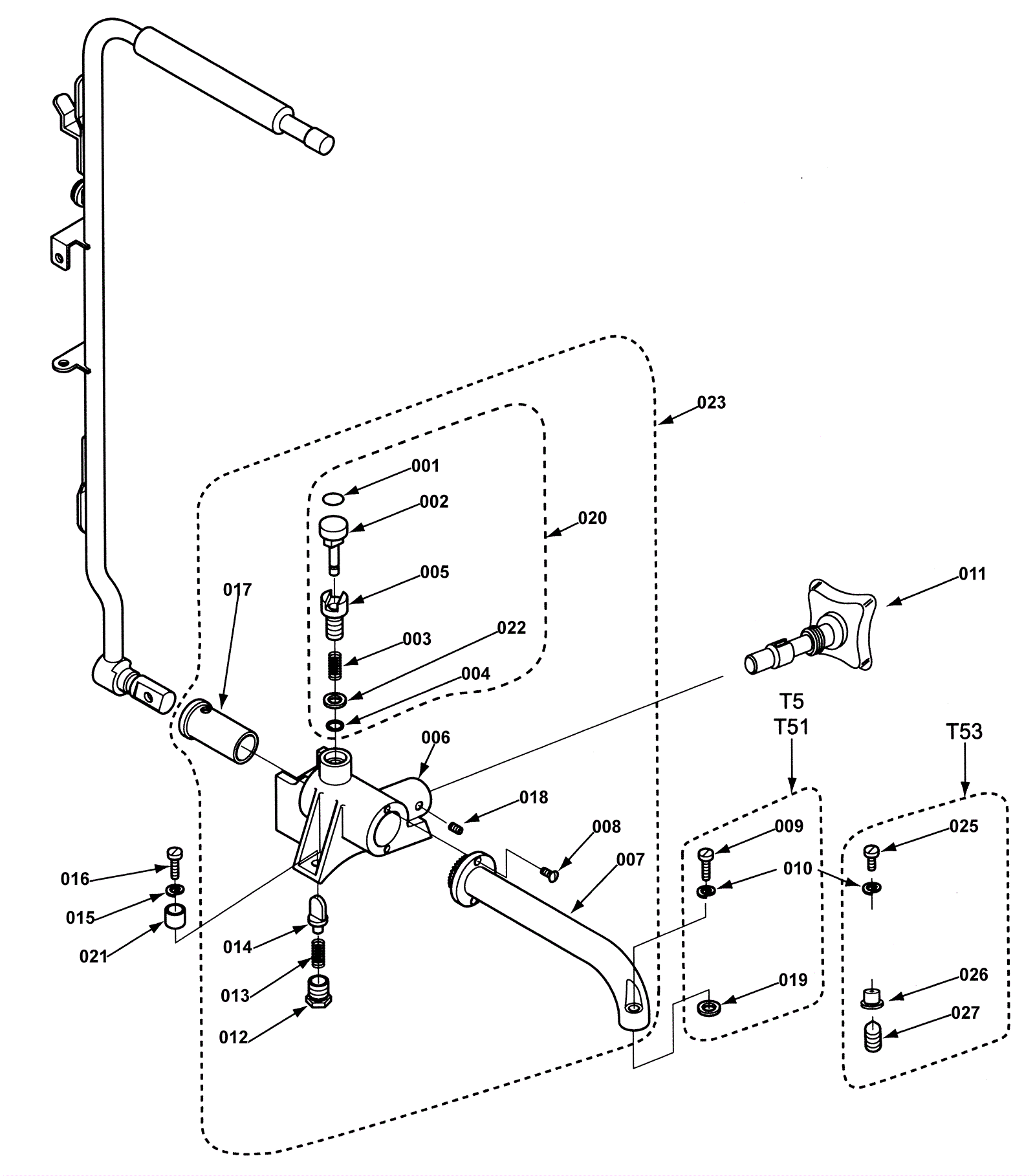
Lifting Handle Assembly
Click to enlarge