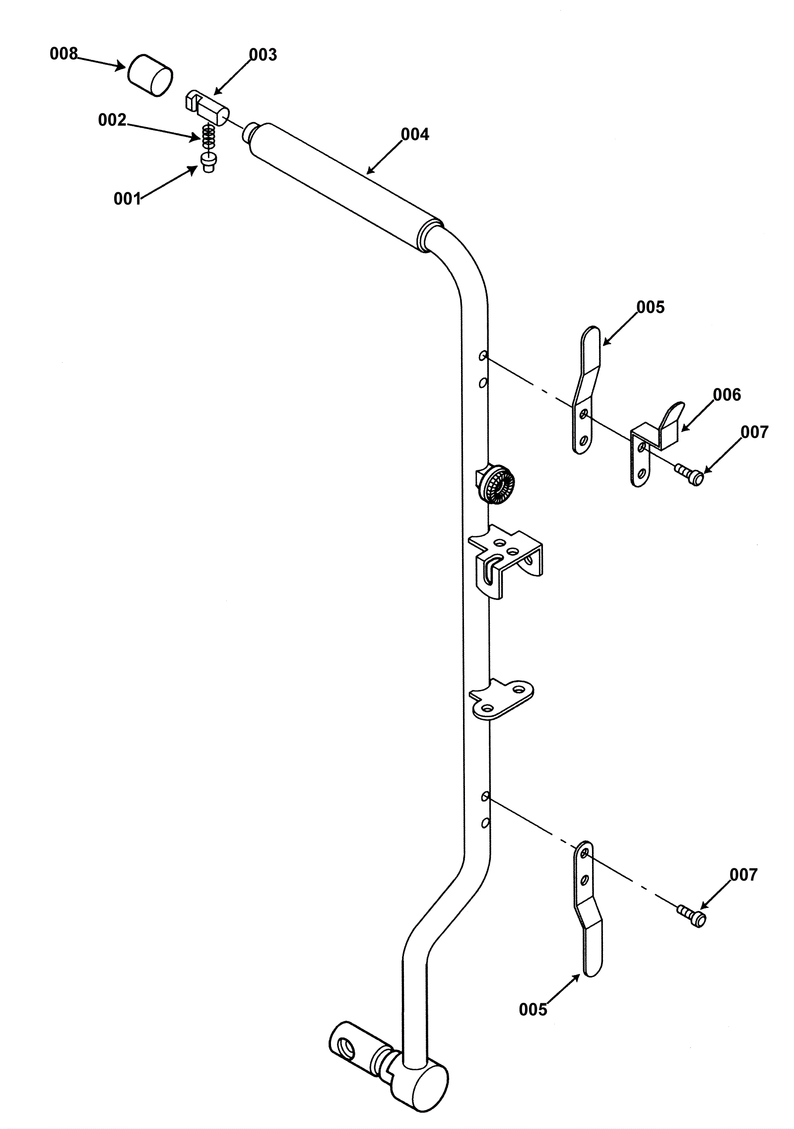
Operating Handle Assembly
Click to enlarge