| # | Part | Description | Price | Req | Notes | Availability |
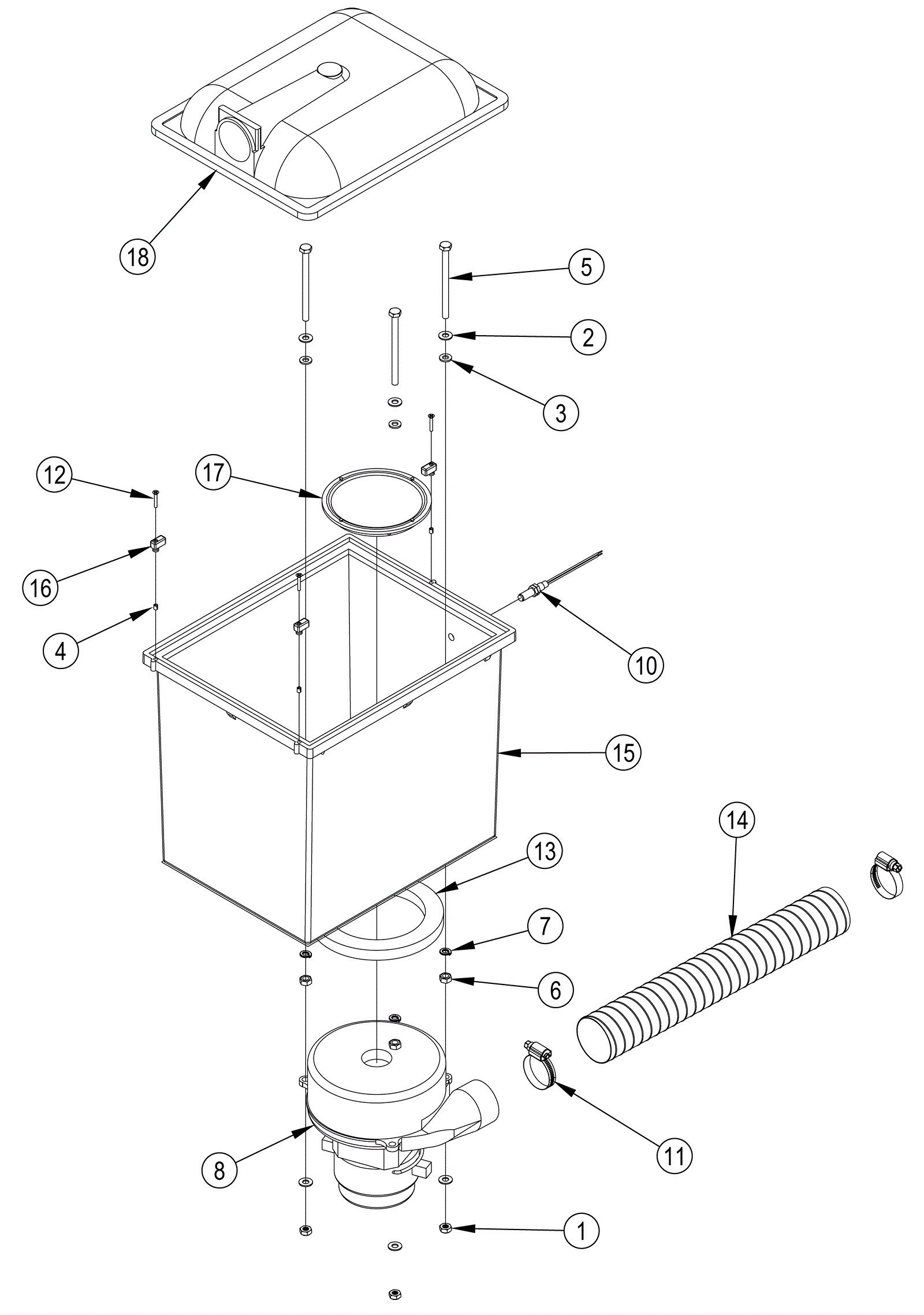
1 |
999-0294
|
Nut 1/4-20 hex nylon lock type NE stainless steel |
$1.18
|
3 |
|
ships same day |
2 |
999-0006
|
Washer 3/16 flat zinc plated |
$0.99
|
6 |
|
ships same day |
3 |
N/A
|
Not available |
Call for price
|
3 |
(Washer) |
usually ships 3-26 days |
4 |
209-2331
|
Insert (brass) |
$20.91
|
3 |
|
usually ships 13-18 days |
5 |
999-0682
|
Bolt 1/4-20 x 3 1/2 hex head grade 5 zinc plated |
$1.06
|
3 |
|
ships same day |
6 |
170-6639
|
Nut 1/4-20 |
$15.17
|
3 |
|
usually ships 13-18 days |
7 |
999-1049
|
Washer 1/4 split lock zinc plated |
$0.99
|
3 |
|
ships same day |
8 |
209-0004
|
120V 2 stage vacuum motor with gasket and connectors |
$529.45
|
1 |
|
usually ships 13-18 days |
10 |
209-2028
|
REED SWITCH 5/16-24 X 1-1/ |
$37.27
|
1 |
|
usually ships 13-18 days |
11 |
209-0657
|
Hose clamp |
$11.35
|
2 |
|
usually ships 1-5 days |
12 |
209-2084
|
SCREW 4-40 X 3/4 FLATHEAD |
$11.35
|
3 |
|
usually ships 13-18 days |
13 |
209-2141
|
GASKET ADHESIVE 5.5ODX4.0IDX.5 |
$11.35
|
1 |
|
usually ships 13-18 days |
14 |
209-2332
|
Exhaust port hose |
$34.23
|
1 |
|
usually ships 13-18 days |
15 |
209-2333
|
Vacuum chamber (OBSOLETE) |
$145.84
|
1 |
|
usually ships 13-18 days |
16 |
N/A
|
Not available |
Call for price
|
3 |
(Twist lock) |
usually ships 3-26 days |
17 |
209-2334
|
Vacuum inlet filter |
$57.05
|
1 |
|
usually ships 13-18 days |
18 |
209-2335
|
Dome with gasket and decal |
$264.79
|
1 |
|
usually ships 13-18 days |
N/S |
N/A
|
Not available |
Call for price
|
26 in |
(Tape cloth) |
usually ships 3-26 days |