| # | Part | Description | Price | Req | Notes | Availability |
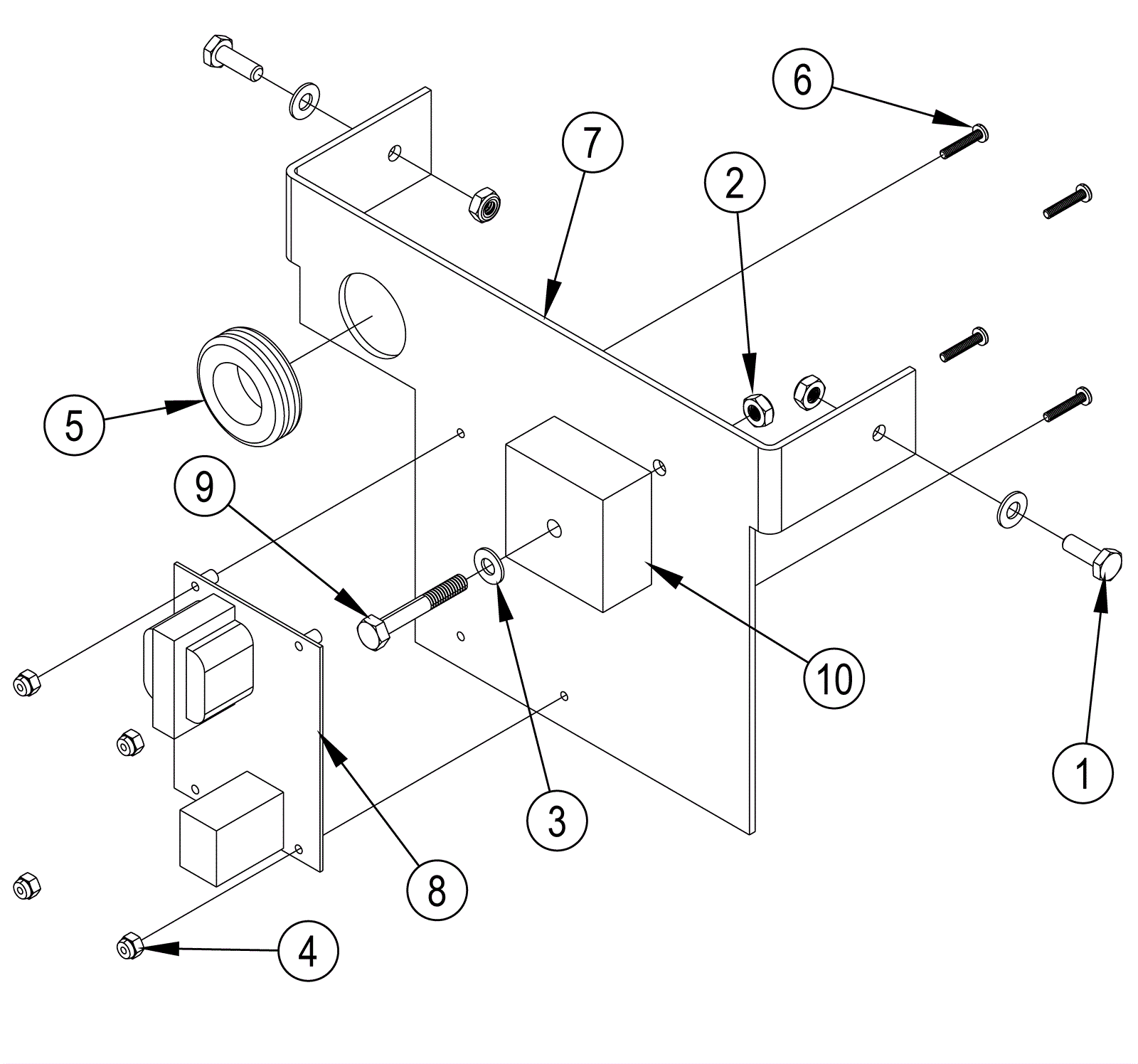
1 |
209-0148
|
Bolt 1/4 inch x 3/4 inch |
$11.99
|
2 |
|
usually ships 1-5 days |
2 |
999-0294
|
Nut 1/4-20 hex nylon lock type NE stainless steel |
$1.18
|
3 |
|
ships same day |
3 |
999-0006
|
Washer 3/16 flat zinc plated |
$0.99
|
3 |
|
ships same day |
4 |
270-8623
|
Nut nylon lock 6/32 Z.P |
$6.51
|
4 |
|
ships same day |
5 |
209-2316
|
Grommet |
$8.03
|
1 |
|
usually ships 13-18 days |
6 |
999-1109
|
Screw 6-32 x 3/4 pan head phillips stainless steel |
$0.99
|
4 |
|
ships same day |
7 |
209-2317
|
Heat sink plate |
$55.95
|
1 |
|
usually ships 13-18 days |
8 |
209-2318
|
120V circuit board (OBSOLETE) |
$332.09
|
1 |
|
usually ships 13-18 days |
9 |
999-0976
|
Bolt 1/4-20 x 1 3/4 hex cap stainless steel |
$1.61
|
1 |
|
ships same day |
10 |
209-2319
|
120V solid relay |
$288.88
|
1 |
|
usually ships 13-18 days |