| # | Part | Description | Price | Req | Notes | Availability |
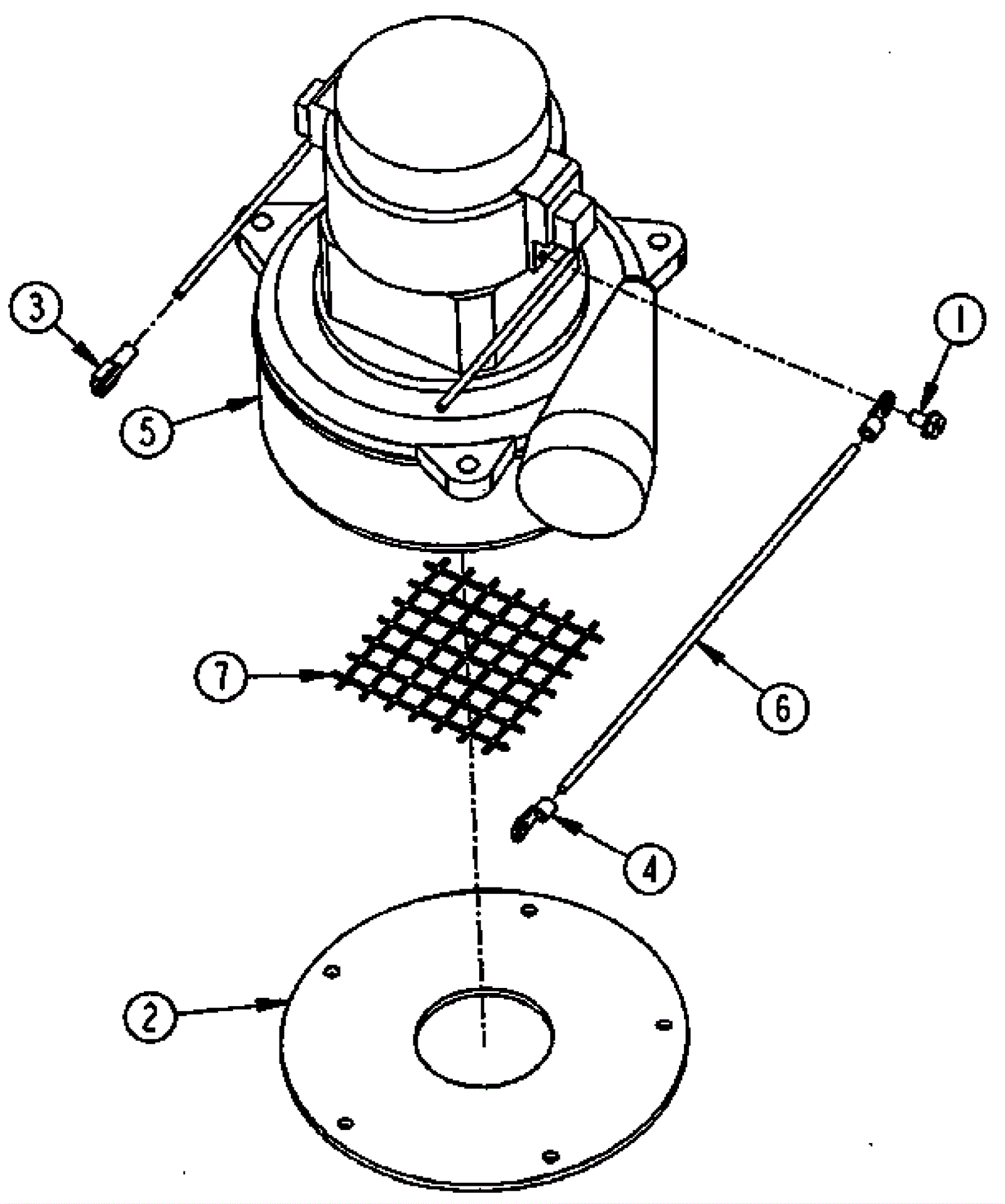
1 |
206-3138
|
Screw 10 x 1/2 (OBSOLETE) |
$3.03
|
1 |
|
usually ships 1-5 days |
2 |
206-3122
|
Vacuum motor gasket (OBSOLETE) |
Call for price
|
2 |
|
usually ships 1-5 days |
3 |
206-3140
|
Female terminal (OBSOLETE) |
Call for price
|
1 |
|
usually ships 1-5 days |
4 |
206-3141
|
Terminal ring (blue) (OBSOLETE) |
Call for price
|
2 |
|
usually ships 1-5 days |
5 |
206-1215
|
2 stage vacuum motor tangential (OBSOLETE) |
$312.69
|
1 |
|
usually ships 13-21 days |
6 |
206-3142
|
14 gauge wire |
$2.71
|
1 |
|
usually ships 1-5 days |
7 |
217-0032
|
Clean water screen (OBSOLETE) |
$22.04
|
1 |
|
usually ships 13-21 days |