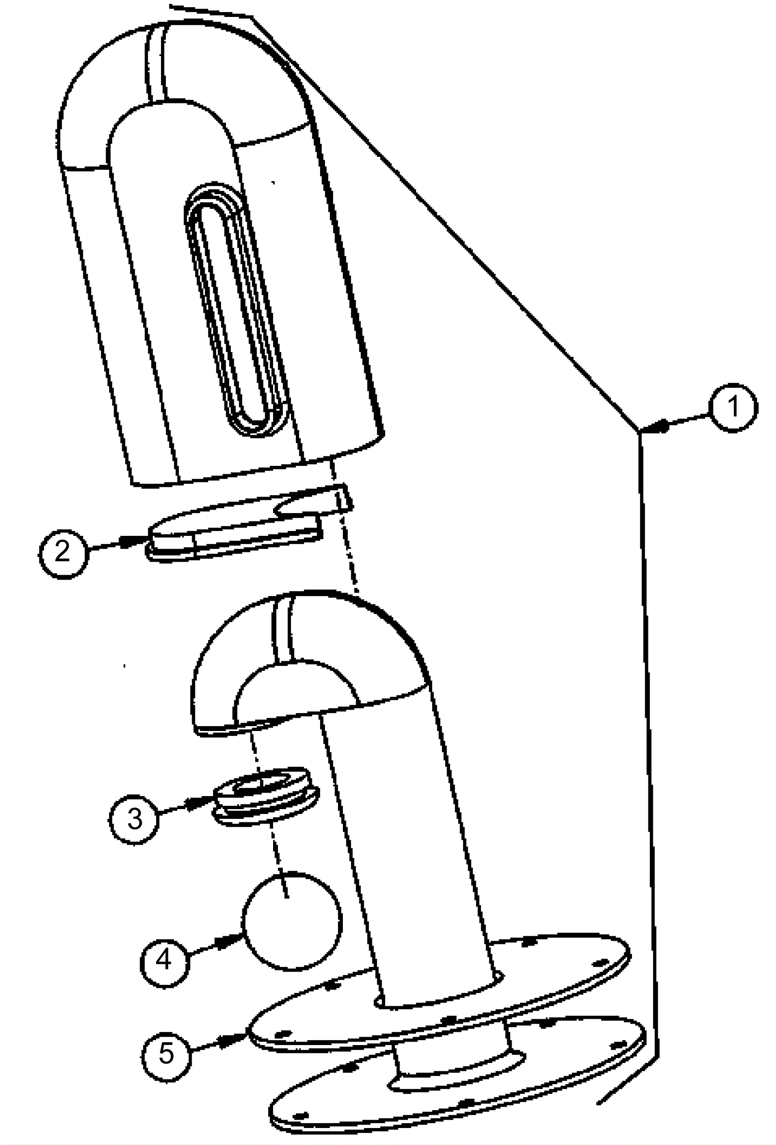
| # | Part | Description | Price | Req | Notes | Availability |
1 |
206-3125
|
Ball and float assembly (OBSOLETE) |
$61.57
|
1 |
(includes 2-5) |
usually ships 13-21 days |
2 |
206-3134
|
Ball float cap (OBSOLETE) |
$21.96
|
1 |
|
usually ships 1-5 days |
3 |
206-3135
|
Grommet |
$4.50
|
1 |
|
usually ships 1-5 days |
4 |
206-3136
|
Shut off ball |
$5.60
|
1 |
|
usually ships 1-5 days |
5 |
206-3137
|
Gasket |
$7.09
|
1 |
|
usually ships 1-5 days |