# | Part | Description | Price | Req | Notes | Availability |
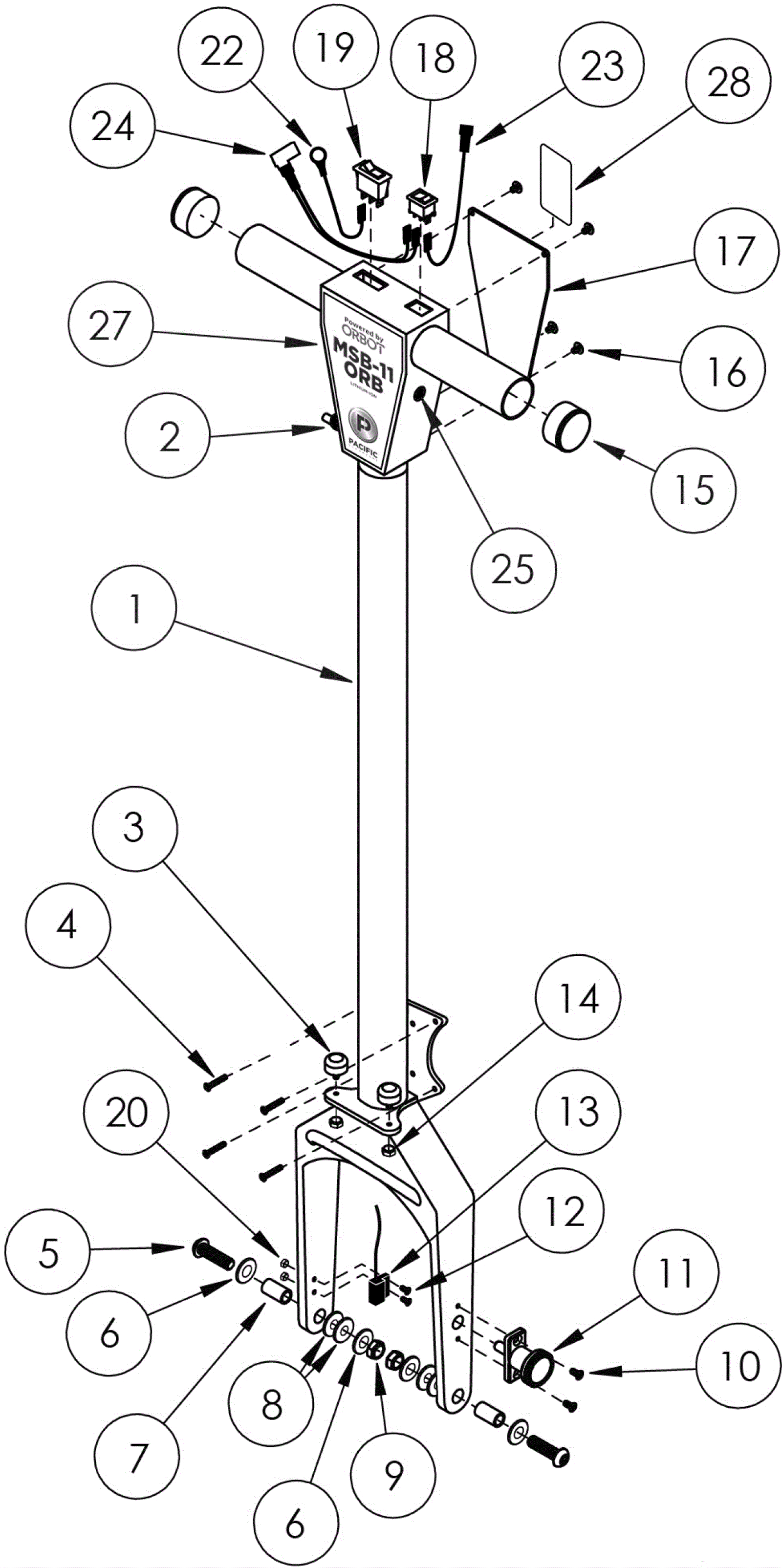
1 |
206-1693
|
Welded aluminum handle |
$1,212.23
|
1 |
|
usually ships 13-21 days |
2 |
206-1694
|
15 amp circuit breaker |
$53.86
|
1 |
|
usually ships 13-21 days |
3 |
206-1695
|
Rubber mount stop |
$34.77
|
2 |
|
usually ships 13-21 days |
4 |
206-1696
|
Pump mount screw 6-32 x 1 1/4 inch |
$27.43
|
4 |
|
usually ships 13-21 days |
5 |
206-1718
|
Mounting screw 3/8-16 x 1 3/8 inch |
$49.46
|
2 |
|
usually ships 13-21 days |
6 |
206-1697
|
Handle fork mounting washer 3/8 inch |
$19.21
|
4 |
|
usually ships 13-21 days |
7 |
206-1698
|
Handle fork spacer |
$24.50
|
2 |
|
usually ships 13-21 days |
8 |
206-1699
|
1/2 inch inner mounting washer |
$31.83
|
4 |
|
usually ships 13-21 days |
9 |
206-1700
|
3/8 inch mounting nut |
$17.16
|
2 |
|
usually ships 13-21 days |
10 |
206-1701
|
Pull pin mounting screw 10-24 x 9/16 inch |
$15.98
|
2 |
|
usually ships 13-21 days |
11 |
206-1702
|
Pull pin |
$62.68
|
1 |
|
usually ships 13-21 days |
12 |
206-1703
|
Safety switch screw 6-32 x 5/8 inch |
$19.50
|
2 |
|
usually ships 13-21 days |
13 |
206-1704
|
Safety switch |
$75.89
|
1 |
|
usually ships 13-21 days |
14 |
206-1705
|
Rubber nut 8-32 |
$17.74
|
2 |
|
usually ships 13-21 days |
15 |
206-1706
|
Plastic caps |
$33.31
|
2 |
|
usually ships 13-21 days |
16 |
206-1707
|
Terminal box cover screw 8-32 x 3/16 inch |
$23.91
|
4 |
|
usually ships 13-21 days |
17 |
206-1708
|
Terminal box cover |
$78.83
|
1 |
|
usually ships 13-21 days |
18 |
206-1709
|
Power switch |
$65.79
|
1 |
|
usually ships 13-21 days |
19 |
206-1710
|
Spray switch |
Call for price
|
1 |
|
usually ships 13-21 days |
20 |
999-0195
|
Nut 6-32 hex plain |
$0.99
|
2 |
|
ships same day |
22 |
206-1711
|
Power switch ground wire |
$40.06
|
1 |
|
usually ships 13-21 days |
23 |
206-1712
|
Power switch to Spray switch wire |
$46.52
|
1 |
|
usually ships 13-21 days |
24 |
206-1713
|
Power switch to breaker wire harness |
$52.99
|
1 |
|
usually ships 13-21 days |
25 |
206-1714
|
Terminal box plug |
$17.74
|
2 |
|
usually ships 13-21 days |
27 |
206-1715
|
Front slim decal |
$40.06
|
1 |
|
usually ships 13-21 days |
28 |
206-1716
|
Rear QR code decal |
$23.91
|
1 |
|
usually ships 13-21 days |
N/S |
206-1717
|
Complete wiring harness |
$304.92
|
1 |
|
usually ships 13-21 days |
N/S |
999-9149
|
Screw 8-32 x 3/8 hex head stainless steel |
$0.99
|
4 |
|
ships same day |