# | Part | Description | Price | Req | Notes | Availability |
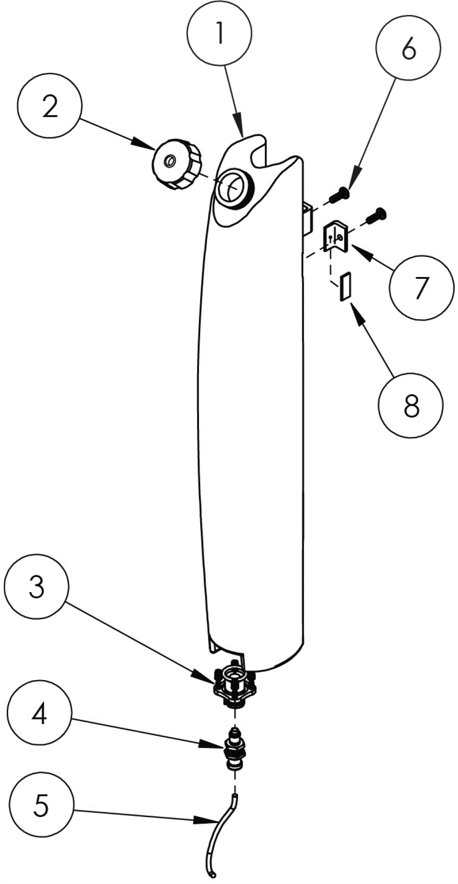
1 |
206-1685
|
Solution tank |
$425.30
|
1 |
|
usually ships 13-21 days |
2 |
206-1686
|
Tank cap assembly |
$84.69
|
1 |
|
usually ships 13-21 days |
3 |
206-1687
|
Tank filter adapter assembly |
$130.50
|
1 |
|
usually ships 13-21 days |
4 |
206-1688
|
Male quick connect |
$59.44
|
1 |
|
usually ships 13-21 days |
5 |
206-1689
|
12 inch tank solution hose |
$33.61
|
1 |
|
usually ships 13-21 days |
6 |
206-1690
|
Tank tab screw 10-32 x 1/2 inch |
$17.74
|
2 |
|
usually ships 13-21 days |
7 |
206-1691
|
Tank tab |
$40.06
|
2 |
|
usually ships 13-21 days |
8 |
206-1692
|
Foam adhesive |
$23.91
|
2 |
|
usually ships 13-21 days |