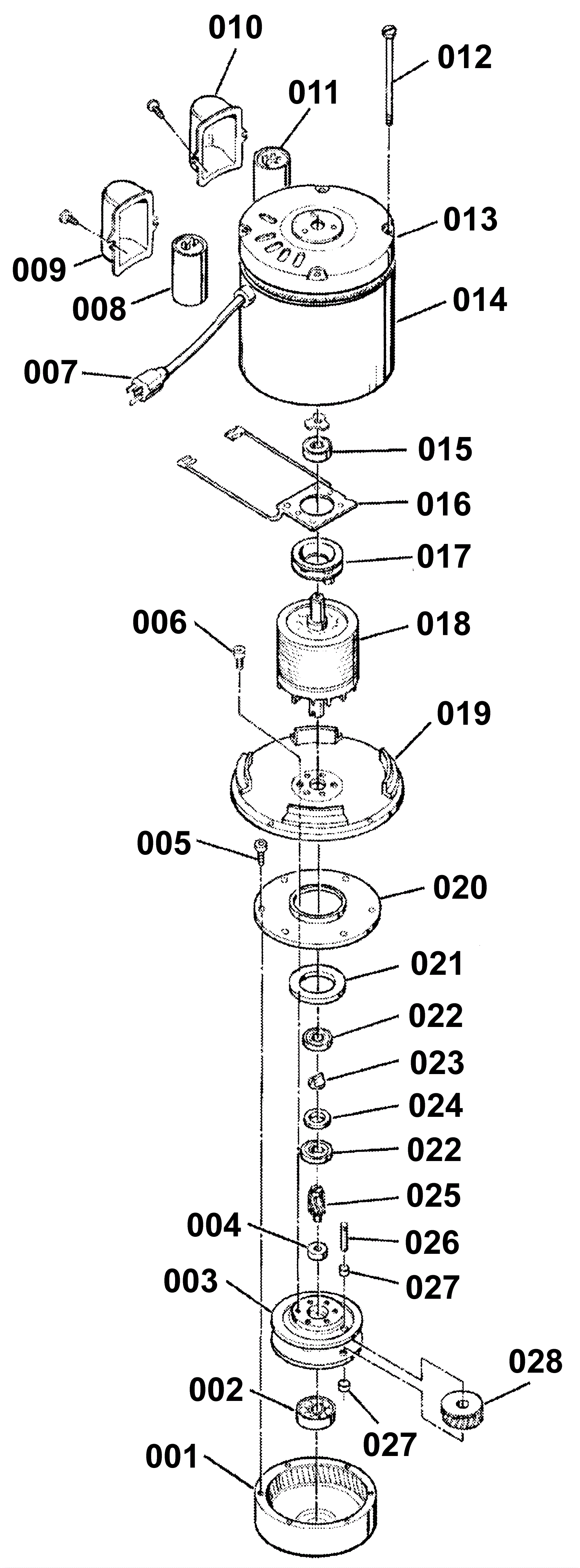
PCP-20
AC Motor Assembly
Click to enlarge
#
Part
Description
Price
Req
Notes
Availability
000
N/A
Not available
Call for price
1
(Motor assembly)
usually ships 3-26 days