PCP-20
Base Assembly
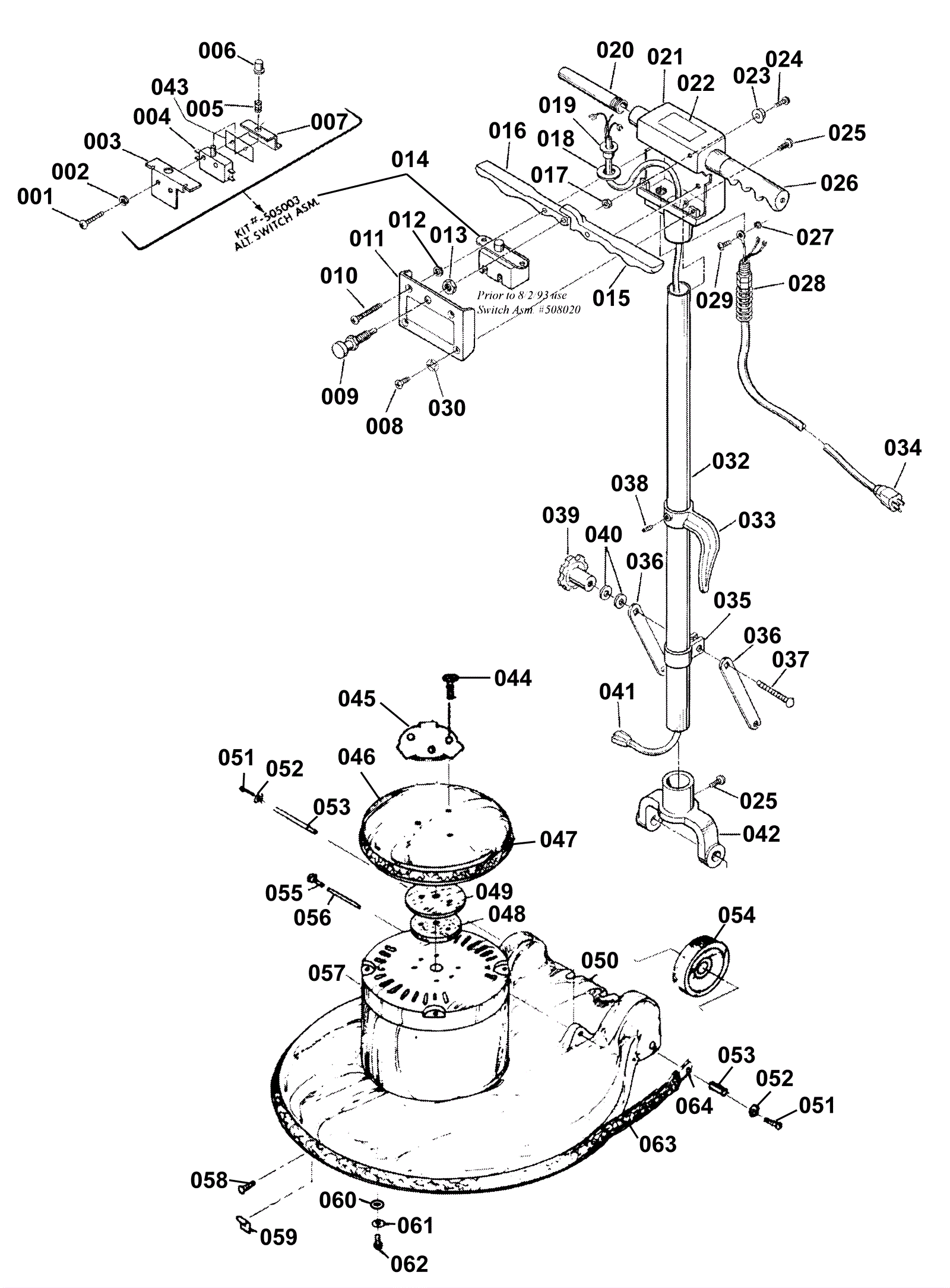
Click to enlarge
#
Part
Description
Price
Req
Notes
Availability
057
N/A
Not available
Call for price
1
(Motor)
usually ships 3-26 days
063b
206-3788
17 inch bumper base
$36.20
1
(17 inch)
usually ships 13-21 days
064b
206-5079
Bumper strap
$28.12
1
(17 inch)
usually ships 1-5 days