L17
Machind Body
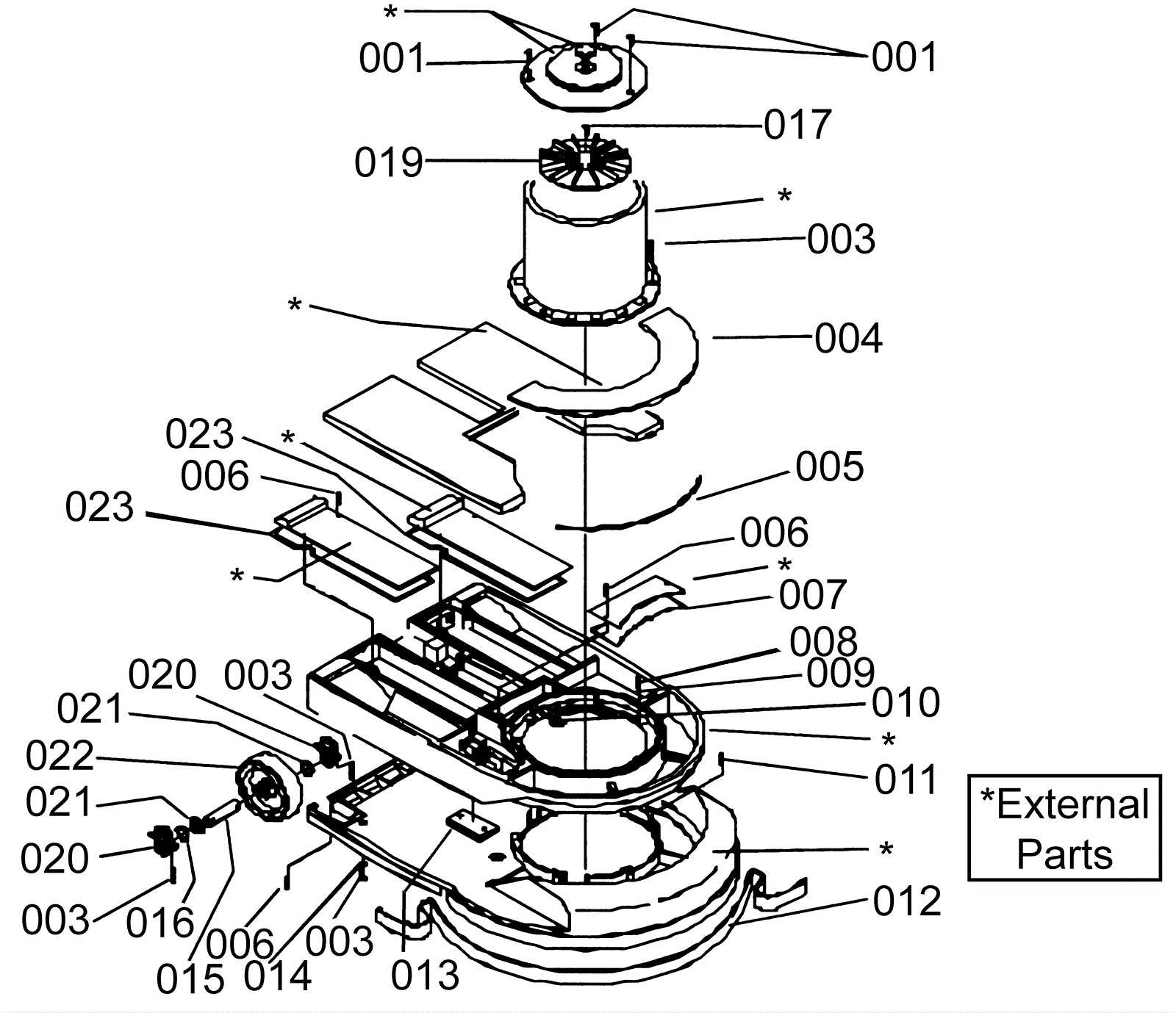
Click to enlarge
#
Part
Description
Price
Req
Notes
Availability
001
203-1879
Screw (OBSOLETE)
Call for price
3
usually ships 1-5 days
003
203-1880
Screw
Call for price
15
usually ships 1-5 days
004
203-1881
Lid
Call for price
1
usually ships 1-5 days
005
203-1882
Gasket (OBSOLETE)
Call for price
1
usually ships 1-5 days
006
203-1733
Screw 12 x 45 inch zinc
Call for price
10
usually ships 10-14 days
007
203-1883
Gasket (OBSOLETE)
Call for price
1
usually ships 1-5 days
008
203-1884
Screw (OBSOLETE)
Call for price
6
usually ships 1-5 days
009
189-1356
Washer 6-18 inch
Call for price
6
usually ships 1-5 days
010
203-1885
Half union (OBSOLETE)
Call for price
1
usually ships 1-5 days
011
203-1886
Screw (OBSOLETE)
Call for price
6
usually ships 1-5 days
012
203-1104
Gasket (OBSOLETE)
Call for price
1
usually ships 1-5 days
013
203-1888
Plate
Call for price
1
usually ships 1-5 days
014
203-0903
Washer D5
Call for price
4
usually ships 10-14 days
015
203-1889
Pin
Call for price
2
usually ships 1-5 days
016
189-1495
Washer
Call for price
2
usually ships 1-5 days
017
203-4713
Screw
Call for price
1
usually ships 1-5 days
019
203-1105
Fan
Call for price
1
usually ships 1-5 days
020
203-1890
Small block
Call for price
4
usually ships 1-5 days
021
189-1394
Washer D13
Call for price
4
usually ships 1-5 days
022
203-1891
Wheel
Call for price
2
usually ships 1-5 days
023
203-1892
Gasket
Call for price
2
usually ships 1-5 days