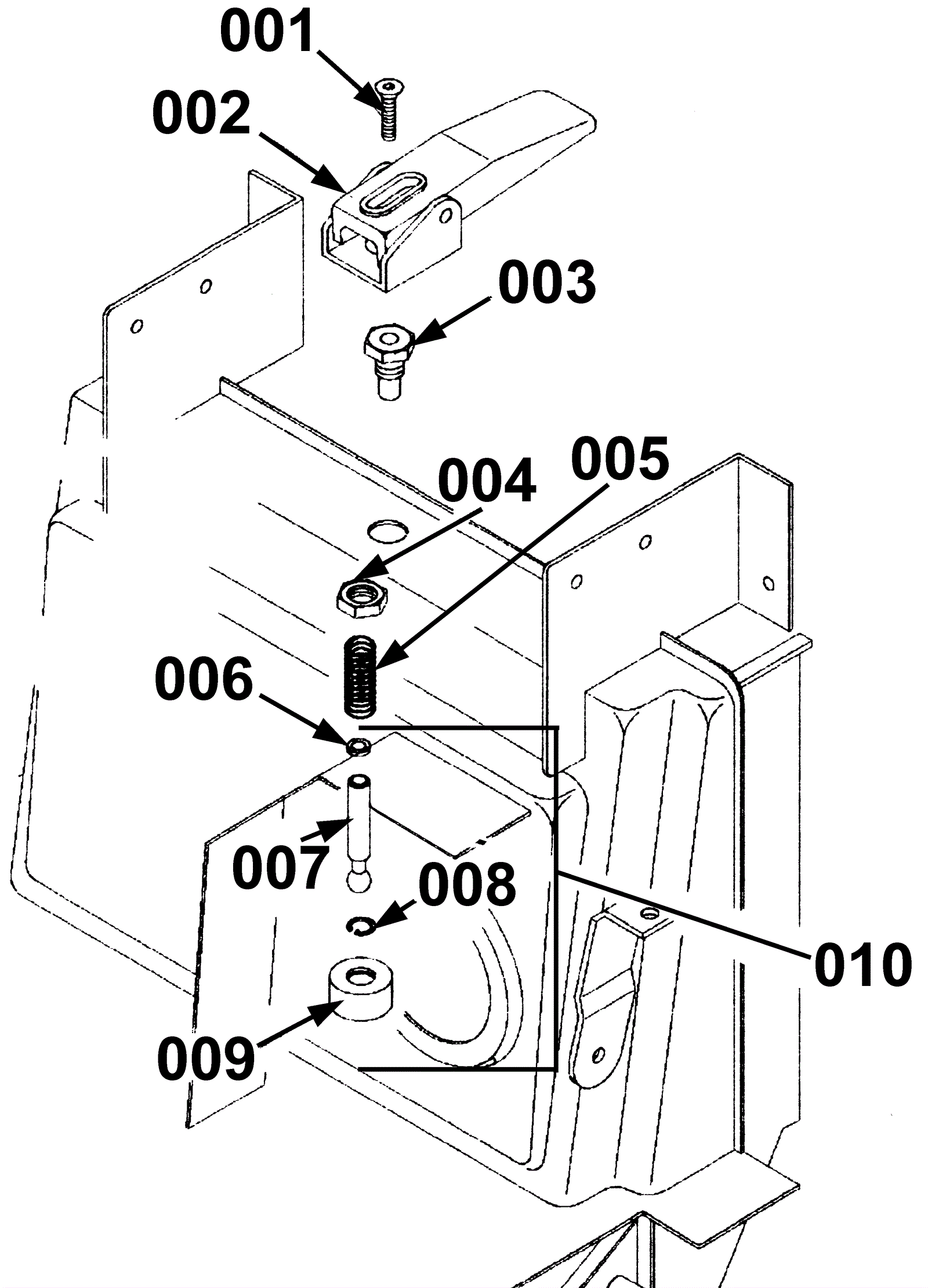
# | Part | Description | Price | Req | Notes | Availability |
001 |
999-0507
|
Bolt M6-1 x 16mm hex head full thread plain finish |
$0.99
|
1 |
|
ships same day |
002 |
203-3131
|
Complete filtershakers lever |
$37.81
|
1 |
|
usually ships 1-5 days |
004 |
203-4190
|
Nut M18 |
$6.23
|
1 |
|
usually ships 1-5 days |
005 |
203-3139
|
Filtershakers spring |
$12.49
|
1 |
|
usually ships 1-5 days |
006 |
203-3140
|
Gasket OR 106 |
$2.75
|
1 |
|
usually ships 11-14 days |
007 |
203-4192
|
Pin |
$27.13
|
1 |
|
usually ships 1-5 days |
008 |
203-5087
|
Seeger ring |
$4.80
|
1 |
|
usually ships 11-14 days |
009 |
203-3142
|
Bearing |
$37.90
|
1 |
|
usually ships 11-14 days |
010 |
203-3149
|
Complete filtershaker jointed rod |
$54.68
|
1 |
includes 006 thru 009 |
usually ships 1-5 days |