| # | Part | Description | Price | Req | Notes | Availability |
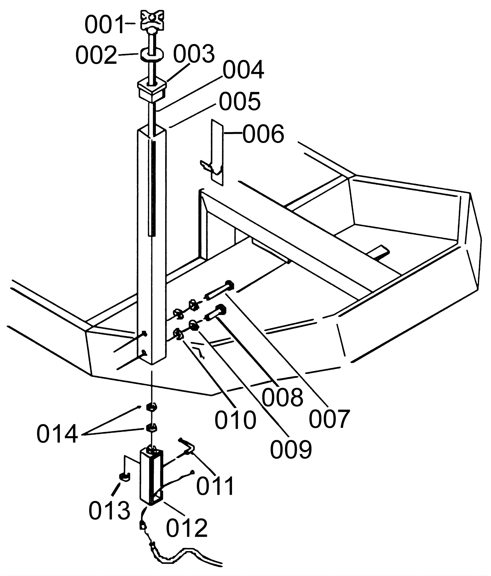
001 |
189-0187
|
Knob |
$65.45
|
1 |
|
usually ships 1-5 days |
002 |
189-1449
|
Washer D10 |
$5.19
|
1 |
|
usually ships 1-5 days |
003 |
203-2750
|
Cap (OBSOLETE) |
Call for price
|
1 |
|
usually ships 1-5 days |
004 |
203-2751
|
Bar (OBSOLETE) |
Call for price
|
1 |
|
usually ships 1-5 days |
005 |
203-2752
|
Structural (OBSOLETE) |
Call for price
|
1 |
|
usually ships 1-5 days |
006 |
203-2753
|
Adhesive label (OBSOLETE) |
Call for price
|
1 |
|
usually ships 1-5 days |
007 |
203-2754
|
Screw (OBSOLETE) |
Call for price
|
1 |
|
usually ships 1-5 days |
008 |
189-1367
|
Screw |
Call for price
|
1 |
|
usually ships 1-5 days |
009 |
189-1369
|
Washer cham |
$5.19
|
2 |
|
usually ships 1-5 days |
010 |
189-1363
|
Washer |
$5.19
|
2 |
|
usually ships 1-5 days |
011 |
203-2755
|
Indicator (OBSOLETE) |
Call for price
|
1 |
|
usually ships 1-5 days |
012 |
203-2756
|
Plate (OBSOLETE) |
Call for price
|
1 |
|
usually ships 1-5 days |
014 |
189-1379
|
Nut M8 |
$30.60
|
2 |
|
usually ships 1-5 days |