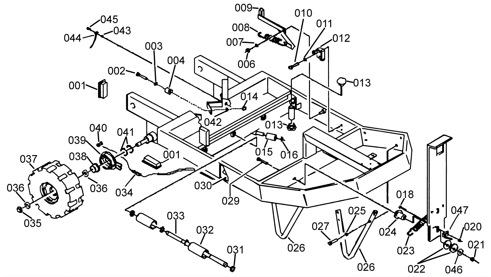
| # | Part | Description | Price | Req | Notes | Availability |
001 |
203-2593
|
Terminal (OBSOLETE) |
Call for price
|
4 |
|
usually ships 1-5 days |
002 |
189-1392
|
Screw |
$6.33
|
2 |
|
usually ships 1-5 days |
003 |
189-1391
|
Washer D6 |
$0.99
|
2 |
|
usually ships 11-14 days |
004 |
189-0574
|
Plug / Stopper |
$5.50
|
2 |
|
usually ships 1-5 days |
007 |
189-1363
|
Washer |
$5.19
|
1 |
|
usually ships 1-5 days |
008 |
189-0575
|
Spring |
$12.49
|
1 |
|
usually ships 1-5 days |
009 |
189-0576
|
Lever |
Call for price
|
1 |
|
usually ships 1-5 days |
010 |
203-2596
|
Screw (OBSOLETE) |
$0.99
|
2 |
|
usually ships 1-5 days |
011 |
189-1375
|
Washer D4 |
$3.10
|
2 |
|
usually ships 11-14 days |
012 |
203-1754
|
Microswitch |
$75.38
|
1 |
|
usually ships 11-14 days |
013 |
203-2597
|
Plug (OBSOLETE) |
Call for price
|
6 |
|
usually ships 1-5 days |
014 |
189-1361
|
Nut |
$5.19
|
2 |
|
usually ships 1-5 days |
015 |
189-0578
|
Roller |
Call for price
|
1 |
|
usually ships 1-5 days |
016 |
189-0579
|
Seeger |
Call for price
|
1 |
|
usually ships 1-5 days |
018 |
189-1457
|
Screw M2 |
$4.20
|
2 |
|
usually ships 1-5 days |
020 |
189-1458
|
Nut M2 |
$3.61
|
1 |
|
usually ships 1-5 days |
022 |
189-1459
|
Washer |
$6.26
|
2 |
|
usually ships 1-5 days |
023 |
189-0582
|
Spring |
$18.70
|
2 |
|
usually ships 1-5 days |
024 |
203-2600
|
Spacer (OBSOLETE) |
Call for price
|
1 |
|
usually ships 1-5 days |
025 |
189-1369
|
Washer cham |
$5.19
|
8 |
|
usually ships 1-5 days |
026 |
203-2601
|
Hose (OBSOLETE) |
Call for price
|
2 |
|
usually ships 1-5 days |
027 |
189-1399
|
Screw M8 zinc |
$5.19
|
8 |
|
usually ships 1-5 days |
030 |
203-2602
|
Label (OBSOLETE) |
Call for price
|
1 |
|
usually ships 1-5 days |
031 |
189-0149
|
Ring |
$5.19
|
16 |
|
usually ships 1-5 days |
032 |
189-0586
|
Roller |
$61.25
|
8 |
|
usually ships 1-5 days |
033 |
189-0587
|
Pin |
$68.94
|
4 |
|
usually ships 1-5 days |
034 |
189-0415
|
Register |
$13.22
|
2 |
|
usually ships 1-5 days |
035 |
189-1380
|
Nut |
$21.21
|
2 |
|
usually ships 1-5 days |
036 |
189-1381
|
Washer |
$2.55
|
4 |
|
usually ships 1-5 days |
037 |
189-0588
|
Rear wheel rubber |
$2,273.07
|
2 |
|
usually ships 1-5 days |
038 |
189-0589
|
Bushing |
$112.81
|
2 |
|
usually ships 1-5 days |
039 |
189-0590
|
Block |
$282.79
|
2 |
|
usually ships 1-5 days |
040 |
203-2402
|
Clamp (OBSOLETE) |
$1.87
|
- |
|
usually ships 1-5 days |
041 |
189-1402
|
Washer |
Call for price
|
4 |
|
usually ships 1-5 days |
042 |
189-1345
|
Washer d10 cham |
$5.19
|
2 |
|
usually ships 1-5 days |
043 |
189-1403
|
Washer D8 |
$3.10
|
1 |
|
usually ships 11-14 days |
044 |
189-0591
|
Cable |
Call for price
|
1 |
|
usually ships 1-5 days |
045 |
999-0924
|
Bolt 3/8-16 x 6-15/16 turned eye zinc plated |
$3.60
|
1 |
|
ships same day |
047 |
203-0193
|
Lever (OBSOLETE) |
$51.21
|
1 |
|
usually ships 1-5 days |