PERFORMER32
Head Lift 2
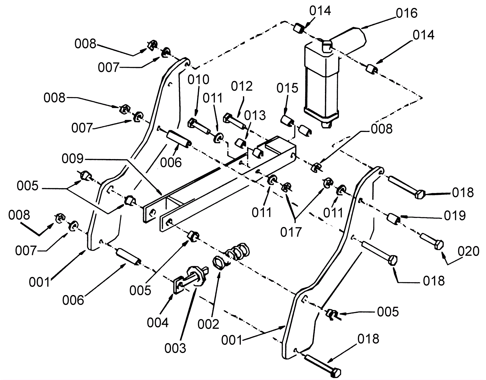
Click to enlarge
#
Part
Description
Price
Req
Notes
Availability
001
203-1741
Lever
$166.86
2
usually ships 1-5 days
002
203-1742
Spring
$86.11
1
usually ships 1-5 days
003
189-1366
Washer D14
$2.99
1
usually ships 1-5 days
004
203-1743
Spring guide
$71.24
1
usually ships 1-5 days
005
203-1744
Bushing
$9.65
4
usually ships 1-5 days
006
203-5052
Spacer D8
$25.11
2
usually ships 11-14 days
007
189-0897
Washer D8
$2.99
3
usually ships 11-14 days
009
203-1746
Lever
$325.28
1
usually ships 1-5 days
010
203-1747
Screw
$5.19
1
usually ships 1-5 days
012
189-1545
3/4 inch screw M8
$12.51
1
usually ships 1-5 days
013
189-0523
Bushing
$10.41
2
usually ships 1-5 days
014
203-1750
Spacer D8
$29.90
2
usually ships 1-5 days
015
189-0168
Bushing
$3.39
2
usually ships 1-5 days
016
203-1751
Actuator
$753.87
1
usually ships 11-14 days
017
203-0524
Nut M6 lock
$5.50
2
usually ships 1-5 days
018
203-1752
Screw M8
$5.50
3
usually ships 1-5 days
019
189-0052
Bearing
$6.37
1
usually ships 1-5 days
020
189-1483
Screw 6 x 40 inch
$0.99
1
usually ships 1-5 days