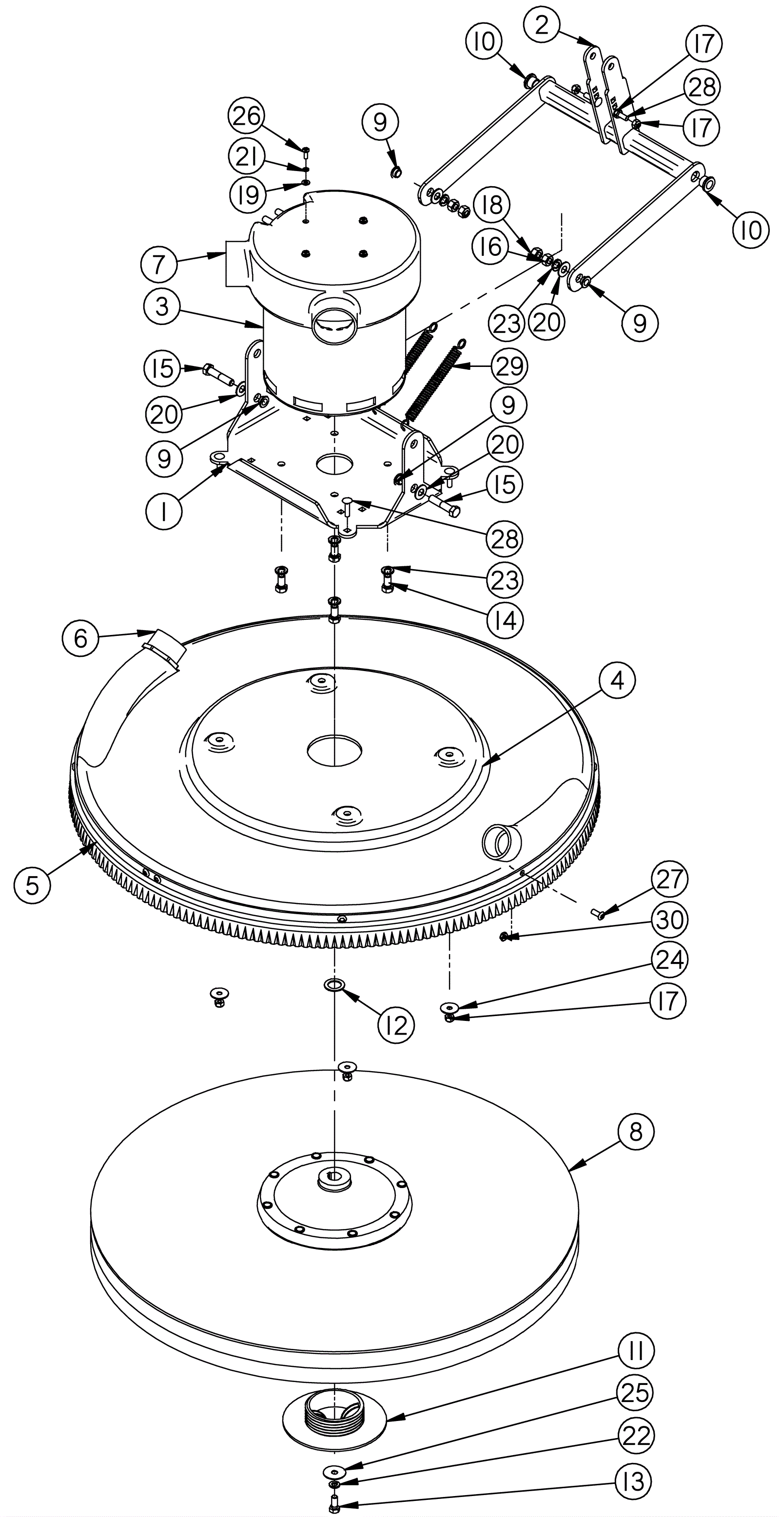
| # | Part | Description | Price | Req | Notes | Availability |
1 |
202-2836
|
Scrub deck |
$130.46
|
1 |
|
usually ships 1-5 days |
2 |
202-5187
|
27 inch lift arm |
$204.49
|
1 |
|
usually ships 1-5 days |
3a |
202-4174
|
36V 3.25HP burnisher motor |
$1,036.86
|
1 |
|
usually ships 8-13 days |
4 |
202-2539
|
27 inchBurnisher shroud |
$113.08
|
1 |
|
usually ships 8-13 days |
5 |
202-2541
|
Shroud curtain |
$190.30
|
1 |
(will need to drill own holes for installation) |
usually ships 8-13 days |
6 |
202-2540
|
M1 - 1/4 NPT to 2 inch OD Adapter |
$26.40
|
2 |
|
usually ships 8-13 days |
7 |
202-2550
|
Motor cover |
$45.32
|
1 |
|
usually ships 8-13 days |
8a |
202-2977
|
27 inch pad driver assembly |
$220.66
|
1 |
|
usually ships 8-13 days |
8b |
202-2553
|
27 inch driver plate |
$270.05
|
1 |
|
usually ships 8-13 days |
9 |
202-1239
|
Flanged bearing |
$5.50
|
4 |
|
usually ships 8-13 days |
10 |
202-0845
|
Bearing 1/2 x 5/8 x 1/2 flanged |
$5.50
|
2 |
|
usually ships 8-13 days |
11 |
991-2202
|
Big mouth pad holder set (blue) |
$44.52
|
1 |
|
ships same day |
12 |
202-1204
|
Washer 3/4 x 1 1/8 flat stainless steel |
$5.50
|
1 |
|
usually ships 8-13 days |
13 |
202-2838
|
Screw 5/16 inch - 24 x 3/4 inch head cap, ss |
$5.50
|
1 |
|
usually ships 8-13 days |
14 |
202-2839
|
Screw 3/8 inch - 16 x 5/8 inch head cap, ss |
$5.50
|
4 |
|
usually ships 8-13 days |
15 |
999-1006
|
Screw 3/8-16 x 1 3/4 hex head stainless steel |
$2.31
|
2 |
|
ships same day |
16 |
999-0635
|
Nut 3/8-16 hex stainless steel |
$0.99
|
2 |
|
ships same day |
17 |
999-0294
|
Nut 1/4-20 hex nylon lock type NE stainless steel |
$1.18
|
8 |
|
ships same day |
18 |
999-1482
|
Nut 3/8-16 nylon lock stainless steel |
$1.06
|
2 |
|
ships same day |
19 |
999-0998
|
Washer #10 flat stainless steel |
$0.99
|
4 |
|
ships same day |
20 |
999-0617
|
Washer 3/8 x 1 flat stainless steel |
$1.82
|
4 |
|
ships same day |
21 |
999-0998
|
Washer #10 flat stainless steel |
$0.99
|
4 |
|
ships same day |
22 |
999-0553
|
Washer 5/16 medium split lock stainless steel |
$0.99
|
1 |
|
ships same day |
23 |
999-0659
|
Washer 3/8 medium split lock stainless steel |
$0.39
|
6 |
|
ships same day |
24 |
999-1288
|
Washer 1/4 x 1 OD fender stainless steel |
$0.99
|
4 |
|
ships same day |
25 |
999-0975
|
Washer 1/4 x 1 1/4 fender stainless steel |
$0.99
|
1 |
|
ships same day |
26 |
999-1350
|
Screw 10-32 x 1/2 inch phillips pan head stainless steel |
$0.99
|
4 |
|
ships same day |
27 |
999-1480
|
Screw 1/4-20 x 5/8 button head socket cap stainless steel |
$0.99
|
9 |
|
ships same day |
28 |
999-1401
|
Bolt 1/4-20 x 1 carriage head stainless steel |
$1.23
|
6 |
|
ships same day |
29 |
202-2208
|
Compression spring |
$6.71
|
2 |
|
usually ships 8-13 days |
30 |
999-0304
|
Nut 1/4-20 nylon lock jam stainless steel |
$0.99
|
9 |
|
ships same day |