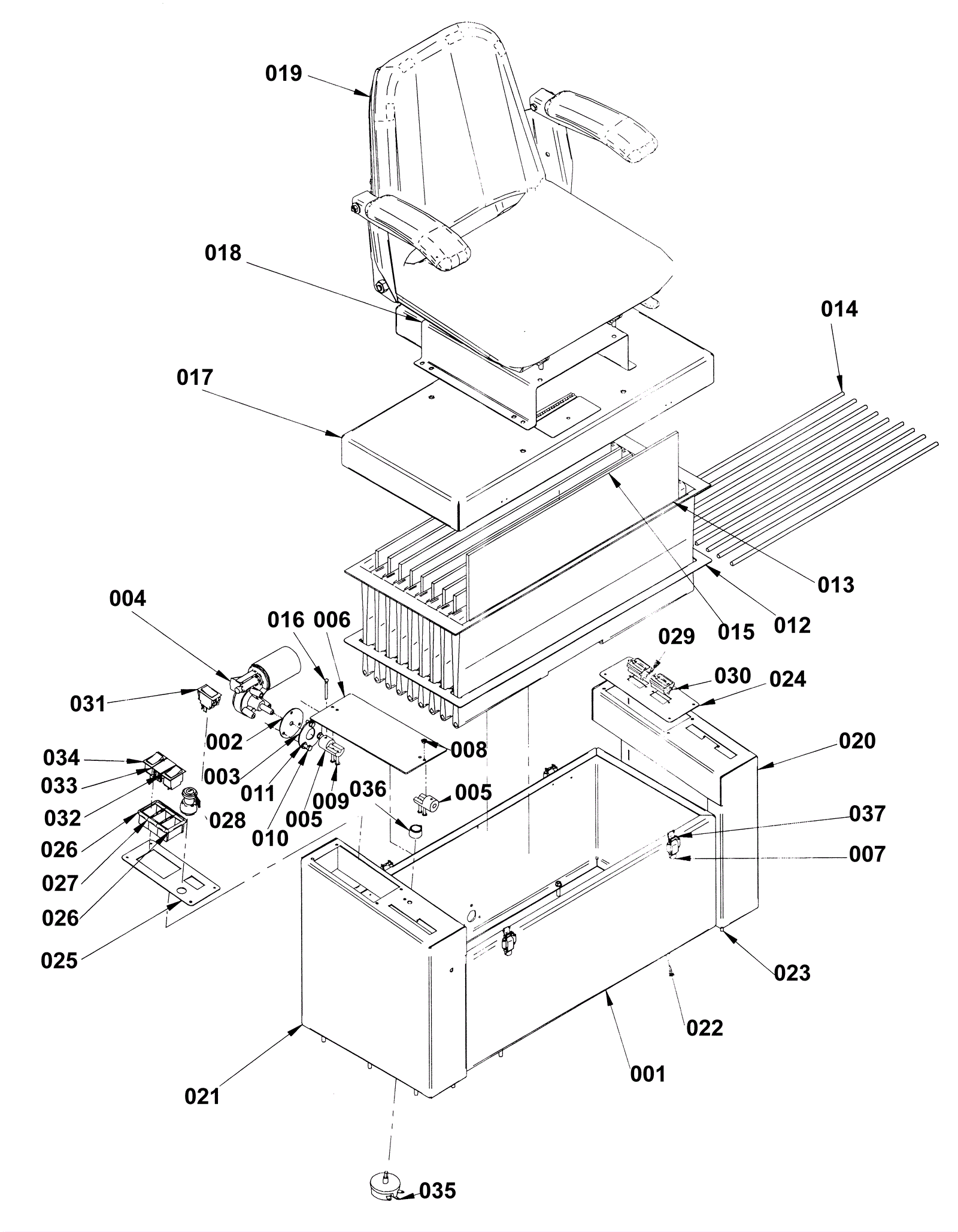
Filtering and Seat Assembly
Click to enlarge