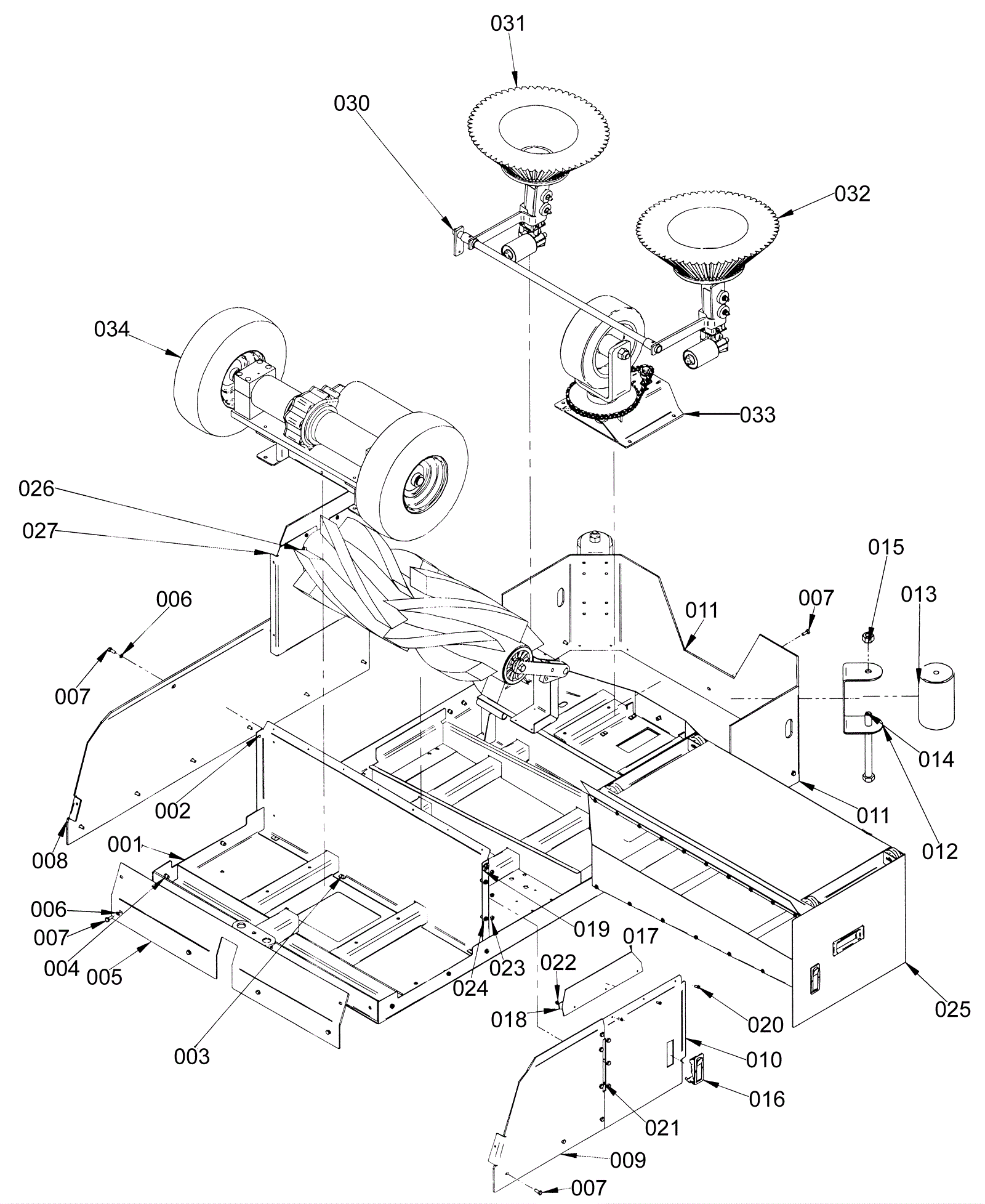
Frame Bottom Assembly
Click to enlarge