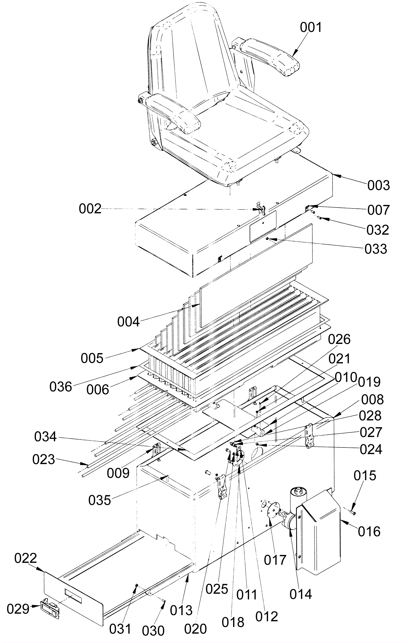
Filter Box Assembly
Click to enlarge