| # | Part | Description | Price | Req | Notes | Availability |
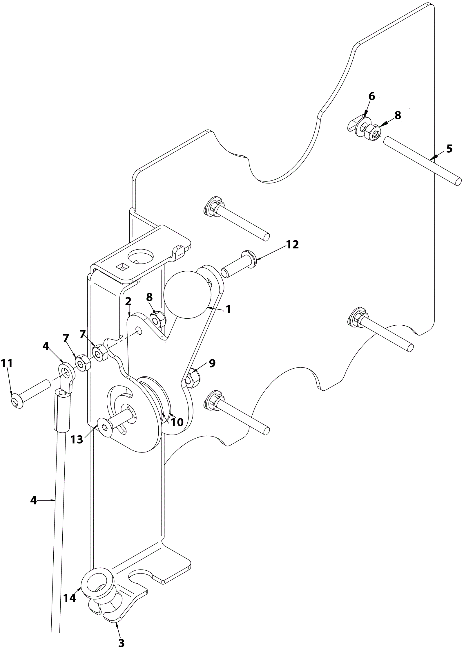
1 |
202-0515
|
Solution flow control knob |
$15.29
|
1 |
|
usually ships 8-13 days |
2 |
202-9896
|
Lever |
$48.18
|
1 |
|
usually ships 8-13 days |
3 |
202-9897
|
Lever bracket |
$175.89
|
1 |
|
usually ships 8-13 days |
4 |
202-9845
|
23-1/4 squeegee lift cable (black) |
$35.64
|
1 |
|
usually ships 8-13 days |
5 |
202-9898
|
Stud 1/4-20 x 3 1/2 full |
$5.50
|
4 |
|
usually ships 8-13 days |
6 |
999-0123
|
Washer 1/4 SAE flat zinc plated |
$0.99
|
4 |
|
ships same day |
7 |
999-0190
|
Nut 1/4-20 hex plain finish |
$0.99
|
2 |
|
ships same day |
8 |
999-0152
|
Nut 1/4-20 nylon insert lock zinc plated |
$0.99
|
5 |
|
ships same day |
9 |
999-0211
|
Nut 5/16-18 hex nylon insert lock zinc plated |
$0.99
|
1 |
|
ships same day |
10 |
999-9241
|
Washer 1 1/2 x 25/64 x 39/64 flat nylon |
$4.49
|
2 |
|
usually ships 16-20 days |
11 |
999-9242
|
Screw 1/4-20 x 1 1/4 button head socket cap |
$1.47
|
1 |
|
usually ships 16-20 days |
12 |
999-1507
|
Screw 5/16-18 x 1 button head socket stainless steel |
$1.88
|
1 |
|
ships same day |
13 |
999-9243
|
Screw 5/16-18 x 1 flat head socket cap (3/16 hex drive) |
$2.73
|
1 |
|
usually ships 16-20 days |
14 |
202-9899
|
PVC cable guide |
$12.65
|
1 |
|
usually ships 8-13 days |