| # | Part | Description | Price | Req | Notes | Availability |
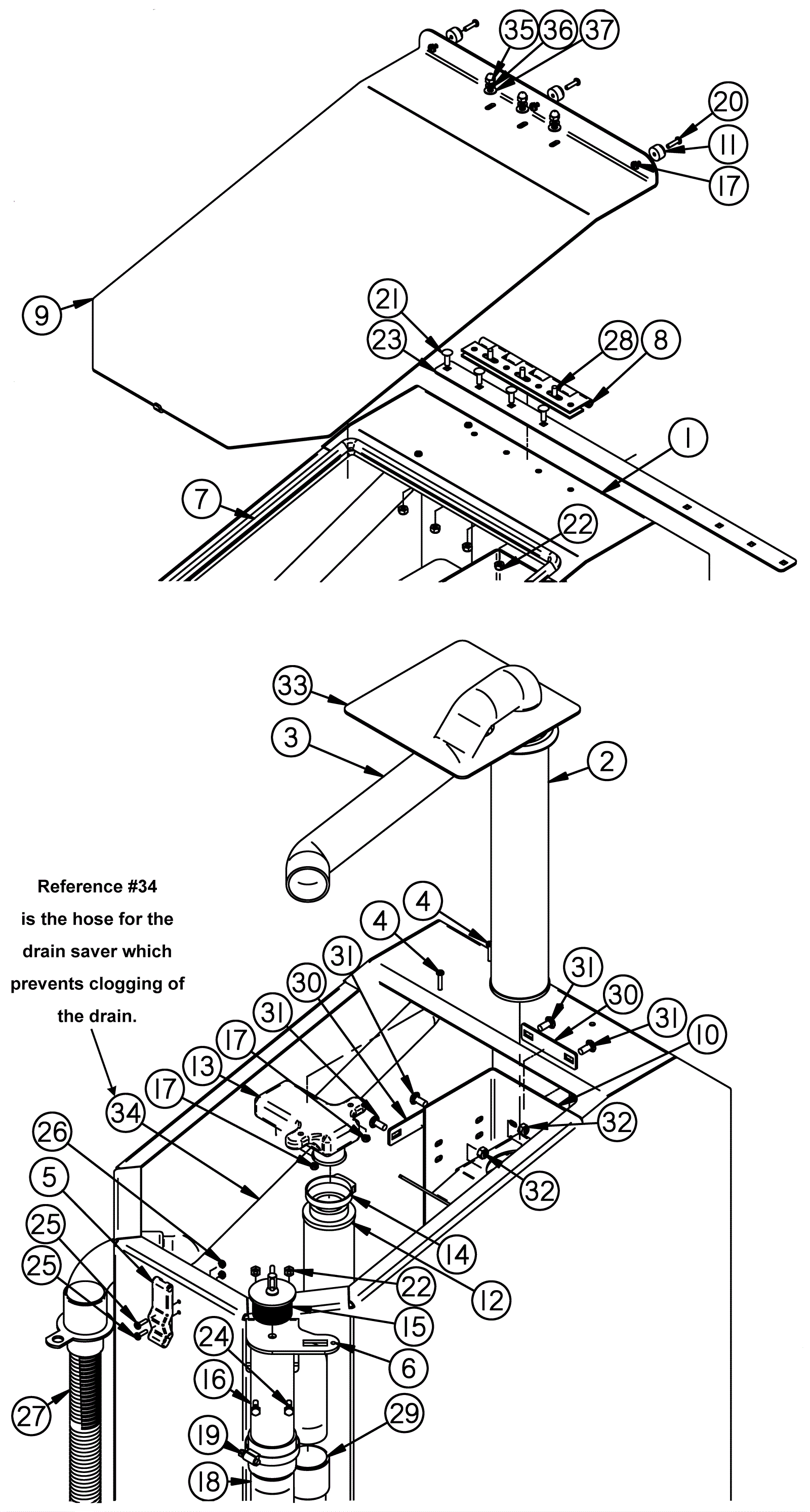
2 |
202-2027
|
Strainer |
$56.98
|
1 |
|
usually ships 8-13 days |
3 |
202-3277
|
Hose 2 x 27 inch (gray) |
$33.44
|
1 |
|
usually ships 8-13 days |
4 |
999-0870
|
Screw 8 x 3/4 pan head phillips stainless steel |
$0.99
|
2 |
|
ships same day |
5 |
202-1487
|
Latch |
$30.68
|
1 |
|
usually ships 8-13 days |
6 |
202-2391
|
Drain hose bracket |
$32.67
|
1 |
|
usually ships 1-5 days |
7 |
202-2385
|
67 inch push-on rubber gasket |
$33.88
|
1 |
|
usually ships 8-13 days |
8 |
202-0403
|
Hinge |
$25.41
|
1 |
|
usually ships 8-13 days |
9 |
202-3273
|
Tank cover |
$807.40
|
1 |
|
usually ships 1-5 days |
10 |
202-3278
|
Drain saver curtain |
$62.81
|
1 |
|
usually ships 1-5 days |
11 |
202-3275
|
Rubber bumper |
$5.50
|
3 |
|
usually ships 8-13 days |
12 |
202-3255
|
Vacuum screen |
$58.08
|
1 |
|
ships same day |
13a |
202-0897
|
Vacuum box |
$65.56
|
1 |
|
usually ships 8-13 days |
13b |
202-1644
|
Vac box filter |
$19.03
|
1 |
|
usually ships 8-13 days |
14 |
202-1640
|
Nylon clamp |
$5.50
|
1 |
|
ships same day |
15 |
202-0240
|
Drain hose plug |
$69.85
|
1 |
|
ships same day |
16 |
202-0694
|
Drain hose end tube |
$73.37
|
1 |
(recovery tank drain hose) |
usually ships 8-13 days |
17 |
999-0086
|
Nut 10-32 nylon insert lock zinc plated |
$0.99
|
5 |
|
ships same day |
18 |
202-0708
|
Drain hose |
$65.56
|
1 |
(recovery tank drain hose) |
ships same day |
19 |
997-2003
|
Hose clamp |
$2.66
|
1 |
|
ships same day |
20 |
999-1044
|
Screw 10-32 x 3/4 pan head phillips stainless steel |
$0.99
|
3 |
|
ships same day |
21 |
999-0963
|
Bolt 1/4-20 x 3/4 carriage head stainless steel |
$1.23
|
4 |
|
ships same day |
22 |
999-0294
|
Nut 1/4-20 hex nylon lock type NE stainless steel |
$1.18
|
6 |
|
ships same day |
23 |
202-3274
|
Bracket |
$31.57
|
1 |
|
usually ships 1-5 days |
24 |
999-0334
|
Bolt 1/4-20 x 3/4 inch hex head stainless steel |
$3.85
|
2 |
|
usually ships 16-20 days |
25 |
999-0358
|
Screw 8-32 x 5/8 pan head phillips stainless steel |
$0.99
|
2 |
|
ships same day |
26 |
999-0357
|
Nut 8-32 nylon insert lock stainless steel |
$0.99
|
2 |
|
ships same day |
27 |
202-3259
|
Hose |
$52.36
|
1 |
(tank to vacuum motor) |
usually ships 8-13 days |
28 |
999-1484
|
Bolt 1/4-20 x 5/8 round head carriage stainless steel |
$0.99
|
3 |
|
ships same day |
29 |
202-3257
|
Squeegee vacuum hose |
$42.35
|
1 |
(squeegee to tank) |
usually ships 8-13 days |
30 |
202-3279
|
Tank support strap |
$11.22
|
2 |
|
usually ships 8-13 days |
31 |
999-0967
|
Bolt 5/16-18 x 3/4 carriage head stainless steel |
$2.16
|
4 |
|
ships same day |
32 |
999-0423
|
Nut 5/16-18 nylon insert lock stainless steel |
$0.99
|
4 |
|
ships same day |
33 |
202-3251
|
Splash panel |
$14.63
|
1 |
|
usually ships 8-13 days |
34 |
202-3280
|
Hose 1 1/2 x 32 inch with 2 inch cuff |
$34.98
|
1 |
(drain saver hose) |
usually ships 1-5 days |
35 |
999-0429
|
Nut 1/4-20 acorn nickel plated |
$0.99
|
3 |
|
ships same day |
36 |
999-0632
|
Washer 1/4 split lock stainless steel |
$0.99
|
3 |
|
ships same day |
37 |
999-0335
|
Washer 1/4 x 5/8 SAE flat stainless steel |
$0.99
|
3 |
|
ships same day |