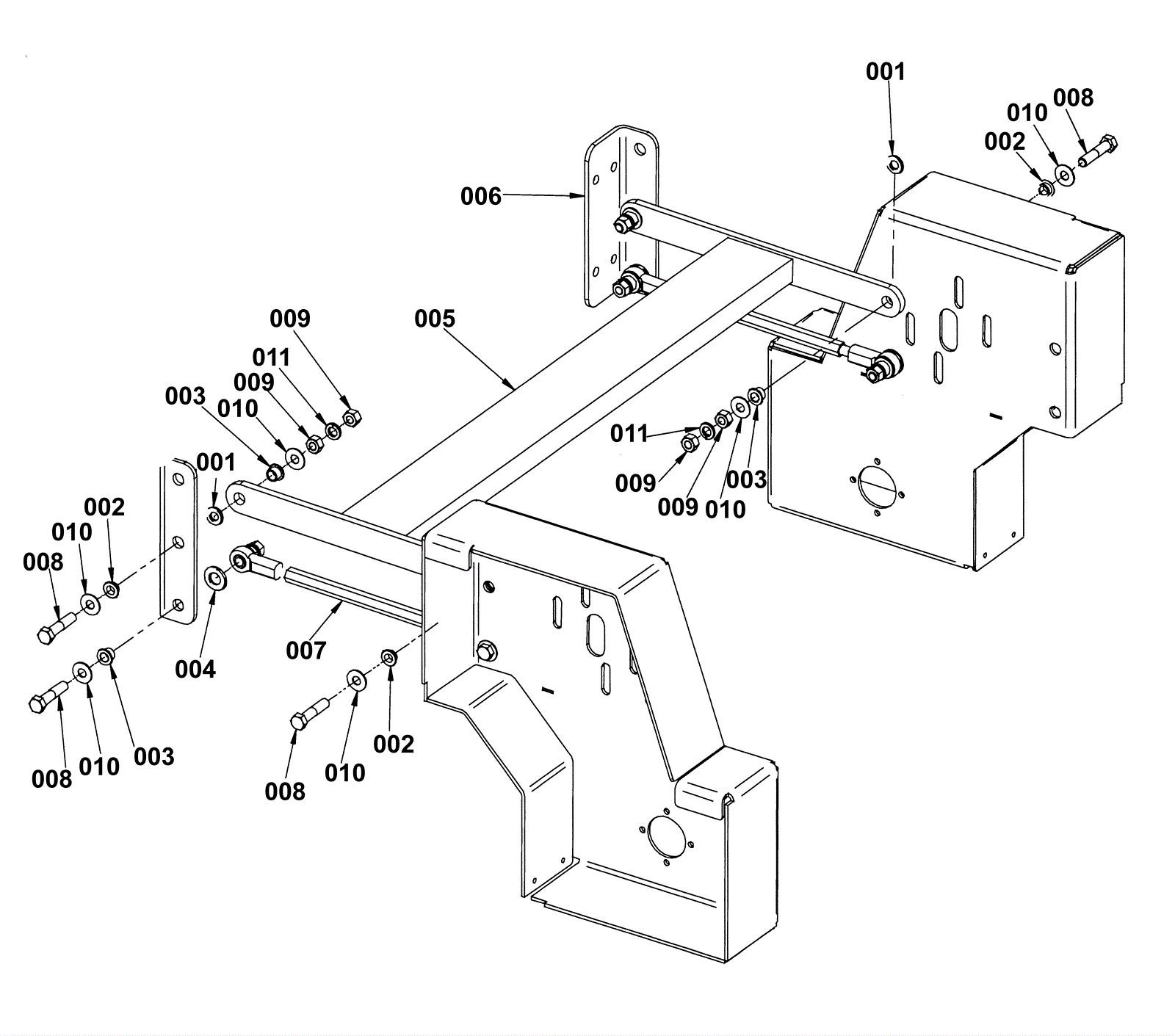
| # | Part | Description | Price | Req | Notes | Availability |
001 |
202-1181
|
Washer 1/2 flat bronze |
$5.50
|
4 |
|
usually ships 8-13 days |
002 |
202-1239
|
Flanged bearing |
$5.50
|
4 |
|
usually ships 8-13 days |
003 |
202-0754
|
Flanged bearing |
$5.50
|
8 |
|
usually ships 8-13 days |
004 |
202-1161
|
Washer 1/2 flat thick bronze |
$5.50
|
4 |
|
usually ships 8-13 days |
005 |
202-2470
|
Lateral lifting arm (OBSOLETE) |
$619.08
|
1 |
|
usually ships 1-5 days |
006 |
202-2471
|
Bracket |
$61.38
|
2 |
|
usually ships 1-5 days |
007 |
202-2472
|
Adjustable lateral arm (OBSOLETE) |
$126.06
|
2 |
|
usually ships 8-13 days |
008 |
999-1006
|
Screw 3/8-16 x 1 3/4 hex head stainless steel |
$2.31
|
8 |
|
ships same day |
009 |
999-0635
|
Nut 3/8-16 hex stainless steel |
$0.99
|
16 |
|
ships same day |
010 |
999-0617
|
Washer 3/8 x 1 flat stainless steel |
$1.82
|
16 |
|
ships same day |
011 |
999-0659
|
Washer 3/8 medium split lock stainless steel |
$0.39
|
8 |
|
ships same day |