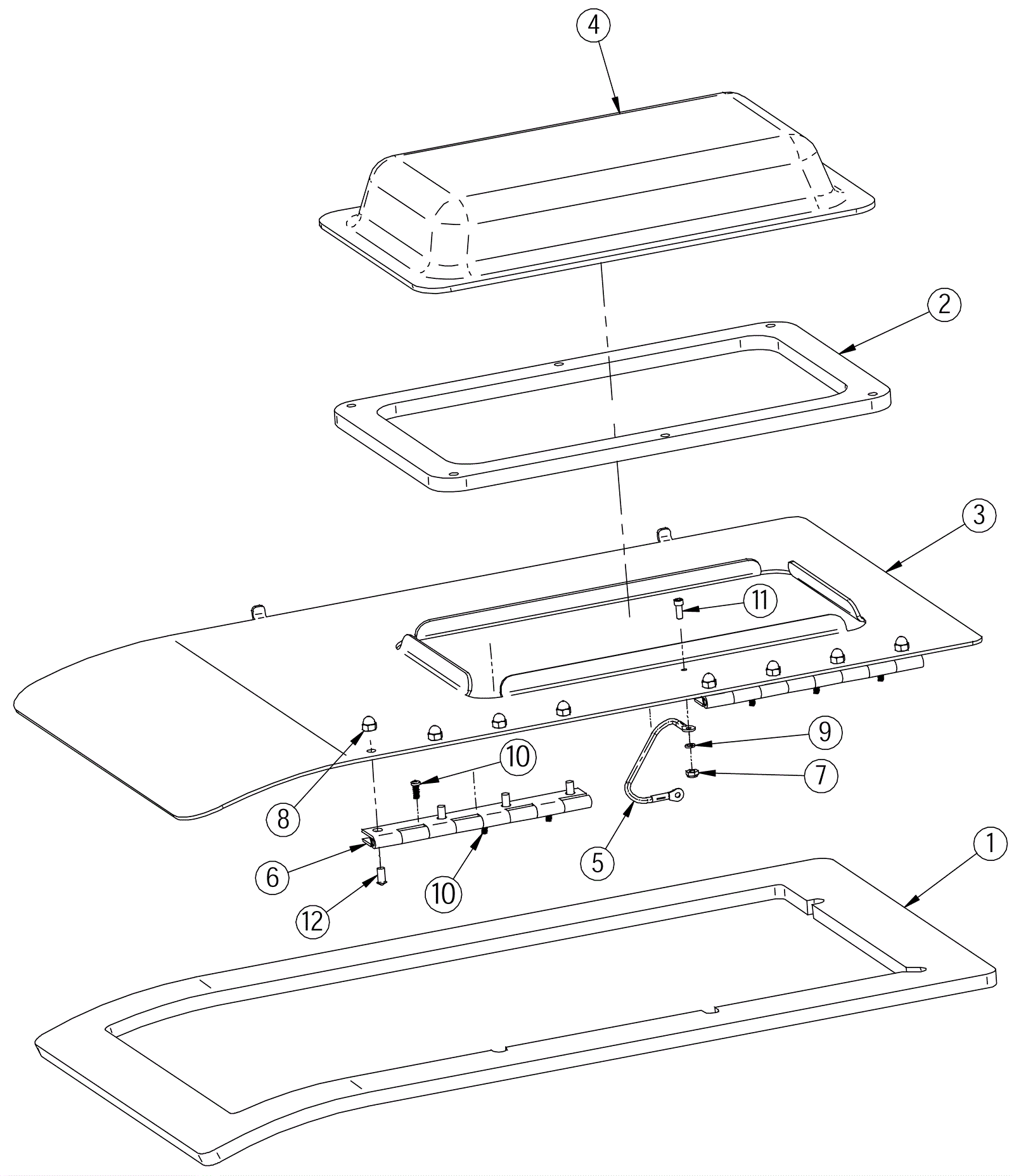
| # | Part | Description | Price | Req | Notes | Availability |
1 |
202-2226
|
Tank lid gasket |
$101.09
|
1 |
|
usually ships 8-13 days |
2 |
202-1982
|
Tank lid gasket (upper) |
$48.84
|
1 |
|
usually ships 8-13 days |
3 |
202-2227
|
Tank lid |
$789.80
|
1 |
|
usually ships 1-5 days |
4 |
202-1983
|
Tank lid (upper) (clear) |
$221.87
|
1 |
|
ships same day |
5 |
202-0902
|
Lanyard |
$8.03
|
1 |
|
usually ships 8-13 days |
6 |
202-1817
|
8 inch hinge |
$55.55
|
2 |
|
usually ships 8-13 days |
7 |
999-0086
|
Nut 10-32 nylon insert lock zinc plated |
$0.99
|
1 |
|
ships same day |
8 |
999-0429
|
Nut 1/4-20 acorn nickel plated |
$0.99
|
8 |
|
ships same day |
9 |
999-0998
|
Washer #10 flat stainless steel |
$0.99
|
1 |
|
ships same day |
10 |
999-0561
|
Bolt 1/2-13 x 1 hex head stainless steel |
$3.28
|
6 |
|
ships same day |
11 |
999-0413
|
Screw 10-32 x 1/2 pan head slotted zinc plated |
$2.20
|
1 |
|
ships same day |
12 |
202-3109
|
Screw 1/4 x 5/8 button head socket stainless steel |
$5.50
|
8 |
|
usually ships 8-13 days |