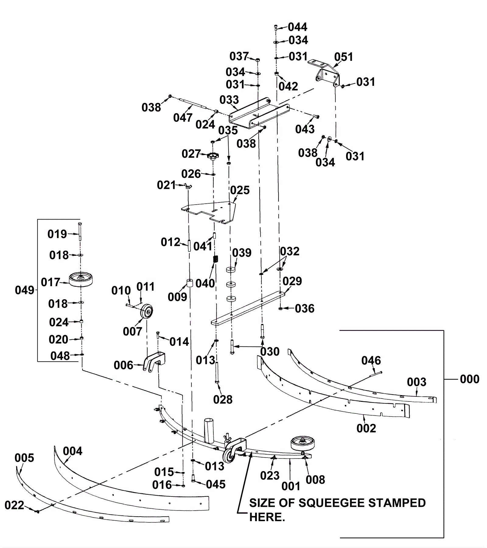
| # | Part | Description | Price | Req | Notes | Availability | 
          
            
            
                
                  
                  
                  
				       
				      000 | 
				      
                
                
                  
                
                202-1876
				
               | 
				      45 inch squeegee assembly | 
				      
                $619.30
                | 
				      1 | 
				       (includes 001-008, 010-011, 014, 017-020, 022-024, 046, and 048-049)  | 
				      ships same day | 
				      
               
               
               
                
               
             
            
                
                  
                  
                  
				       
				      001 | 
				      
                
                
                  
                
                
				202-1855
               | 
				      45 inch squeegee weldment | 
				      
                $369.82
                | 
				      1 | 
				         | 
				      usually ships 8-13 days | 
				      
               
               
               
                
               
             
            
                
                  
                  
                  
				       
				      002a | 
				      
                
                
                  
                
                
				202-1803
               | 
				      Squeegee blade 45 inch gum rubber front | 
				      
                $41.58
                | 
				      1 | 
				         | 
				      usually ships 8-13 days | 
				      
               
               
               
                
               
             
            
                
                  
                  
                  
				       
				      002b | 
				      
                
                
                  
                
                
				202-2289
               | 
				      Squeegee blade 45 inch linatex front (red) | 
				      
                $52.36
                | 
				      1 | 
				         | 
				      usually ships 8-13 days | 
				      
               
               
               
                
               
             
            
                
                  
                  
                  
				       
				      002c | 
				      
                
                
                  
                
                202-2453
				
               | 
				      Squeegee blade kit linatex (includes front and rear blades) | 
				      
                $141.02
                | 
				      1 | 
				       (standard for Sam's Club)  | 
				      ships same day | 
				      
               
               
               
                
               
             
            
                
                  
                  
                  
				       
				      003 | 
				      
                
                
                  
                
                202-1856
				
               | 
				      45 inch front squeegee band | 
				      
                $134.09
                | 
				      1 | 
				         | 
				      ships same day | 
				      
               
               
               
                
               
             
            
                
                  
                  
                  
				       
				      004a | 
				      
                
                
                  
                
                
				202-0002
               | 
				      Squeegee blade 45 inch gum rubber rear | 
				      
                $42.79
                | 
				      1 | 
				         | 
				      usually ships 8-13 days | 
				      
               
               
               
                
               
             
            
                
                  
                  
                  
				       
				      004b | 
				      
                
                
                  
                
                
				202-2288
               | 
				      Squeegee blade 45 inch linatex rear (red) | 
				      
                $62.37
                | 
				      1 | 
				         | 
				      usually ships 8-13 days | 
				      
               
               
               
                
               
             
            
                
                  
                  
                  
				       
				      005 | 
				      
                
                
                  
                
                
				202-1857
               | 
				      45 inch rear squeegee band | 
				      
                $81.73
                | 
				      1 | 
				         | 
				      usually ships 8-13 days | 
				      
               
               
               
                
               
             
            
                
                  
                  
                  
				       
				      006a | 
				      
                
                
                  
                
                202-0581
				
               | 
				      Squeegee trail mount | 
				      
                $62.37
                | 
				      2 | 
				         | 
				      ships same day | 
				      
               
               
               
                
               
             
            
                
                  
                  
                  
				       
				      007 | 
				      
                
                
                  
                
                
				202-0008
               | 
				      Squeegee wheel with hardware (pkg of 2) | 
				      
                $29.48
                | 
				      1 | 
				       (includes 010 and 011)  | 
				      usually ships 8-13 days | 
				      
               
               
               
                
               
             
            
                
                  
                  
                  
				       
				      008 | 
				      
                
                
                  
                
                999-0868
				
               | 
				      Screw 10-32 x 1 3/4 pan head phillips stainless steel | 
				      
                $3.85
                | 
				      2 | 
				         | 
				      ships same day | 
				      
               
               
               
                
               
             
            
                
                  
                  
                  
				       
				      009 | 
				      
                
                
                  
                
                
				202-0582
               | 
				      Stand-off | 
				      
                $13.31
                | 
				      2 | 
				         | 
				      usually ships 8-13 days | 
				      
               
               
               
                
               
             
            
                
                  
                  
                  
				       
				      010 | 
				      
                
                
                  
                
                
				202-0805
               | 
				      Clevis pin | 
				      
                $5.50
                | 
				      2 | 
				         | 
				      usually ships 8-13 days | 
				      
               
               
               
                
               
             
            
                
                  
                  
                  
				       
				      011 | 
				      
                
                
                  
                
                
				202-0585
               | 
				      Cotter ring | 
				      
                $5.50
                | 
				      2 | 
				         | 
				      usually ships 8-13 days | 
				      
               
               
               
                
               
             
            
                
                  
                  
                  
				       
				      012 | 
				      
                
                
                  
                
                
				202-0806
               | 
				      Stud | 
				      
                $16.06
                | 
				      2 | 
				         | 
				      usually ships 8-13 days | 
				      
               
               
               
                
               
             
            
                
                  
                  
                  
				       
				      013 | 
				      
                
                
                  
                
                999-0659
				
               | 
				      Washer 3/8 medium split lock stainless steel | 
				      
                $0.39
                | 
				      3 | 
				         | 
				      ships same day | 
				      
               
               
               
                
               
             
            
                
                  
                  
                  
				       
				      014 | 
				      
                
                
                  
                
                999-0297
				
               | 
				      Bolt 1/4-20 x 1 hex head stainless steel | 
				      
                $2.53
                | 
				      4 | 
				         | 
				      ships same day | 
				      
               
               
               
                
               
             
            
                
                  
                  
                  
				       
				      015 | 
				      
                
                
                  
                
                999-0632
				
               | 
				      Washer 1/4 split lock stainless steel | 
				      
                $0.99
                | 
				      4 | 
				         | 
				      ships same day | 
				      
               
               
               
                
               
             
            
                
                  
                  
                  
				       
				      016 | 
				      
                
                
                  
                
                999-0609
				
               | 
				      Nut 1/4-20 hex stainless steel | 
				      
                $0.99
                | 
				      4 | 
				         | 
				      ships same day | 
				      
               
               
               
                
               
             
            
                
                  
                  
                  
				       
				      017 | 
				      
                
                
                  N/A
                
                
				
               | 
				      Not available | 
				      
                Call for price
                | 
				      2 | 
				       (Bumper wheel) (included in kit)  | 
				      usually ships 3-26 days | 
				      
               
               
               
                
               
             
            
                
                  
                  
                  
				       
				      018 | 
				      
                
                
                  
                
                999-0549
				
               | 
				      Washer 5/16 x 3/4 SAE flat stainless steel | 
				      
                $0.99
                | 
				      4 | 
				         | 
				      ships same day | 
				      
               
               
               
                
               
             
            
                
                  
                  
                  
				       
				      019 | 
				      
                
                
                  
                
                999-0911
				
               | 
				      Screw 5/16-18 x 3 hex head stainless steel | 
				      
                $4.75
                | 
				      2 | 
				         | 
				      ships same day | 
				      
               
               
               
                
               
             
            
                
                  
                  
                  
				       
				      020 | 
				      
                
                
                  
                
                999-0593
				
               | 
				      Nut 5/16-18 hex stainless steel | 
				      
                $0.99
                | 
				      2 | 
				         | 
				      ships same day | 
				      
               
               
               
                
               
             
            
                
                  
                  
                  
				       
				      021a | 
				      
                
                
                  
                
                202-1044
				
               | 
				      Nut wing 3/8-16 nickel | 
				      
                $14.30
                | 
				      2 | 
				         | 
				      ships same day | 
				      
               
               
               
                
               
             
            
                
                  
                  
                  
				       
				      021b | 
				      
                
                
                  
                
                
				202-1999
               | 
				      Star knob | 
				      
                $45.65
                | 
				      2 | 
				       (used on newer machines)  | 
				      usually ships 8-13 days | 
				      
               
               
               
                
               
             
            
                
                  
                  
                  
				       
				      022 | 
				      
                
                
                  
                
                999-0058
				
               | 
				      Nut 10-32 wing zinc plated | 
				      
                $3.85
                | 
				      8 | 
				         | 
				      ships same day | 
				      
               
               
               
                
               
             
            
                
                  
                  
                  
				       
				      023 | 
				      
                
                
                  
                
                999-0860
				
               | 
				      Screw 10-32 x 2 1/2 pan head slotted stainless steel | 
				      
                $2.20
                | 
				      8 | 
				         | 
				      ships same day | 
				      
               
               
               
                
               
             
            
                
                  
                  
                  
				       
				      024 | 
				      
                
                
                  
                
                
				202-0807
               | 
				      Shaft collar | 
				      
                $5.50
                | 
				      3 | 
				         | 
				      usually ships 8-13 days | 
				      
               
               
               
                
               
             
            
                
                  
                  
                  
				       
				      025 | 
				      
                
                
                  
                
                
				202-0808
               | 
				      Squeegee triangle plate | 
				      
                $72.05
                | 
				      1 | 
				         | 
				      usually ships 8-13 days | 
				      
               
               
               
                
               
             
            
                
                  
                  
                  
				       
				      026 | 
				      
                
                
                  
                
                999-0549
				
               | 
				      Washer 5/16 x 3/4 SAE flat stainless steel | 
				      
                $0.99
                | 
				      1 | 
				         | 
				      ships same day | 
				      
               
               
               
                
               
             
            
                
                  
                  
                  
				       
				      027 | 
				      
                
                
                  
                
                202-0809
				
               | 
				      Brass star knob | 
				      
                $42.79
                | 
				      1 | 
				         | 
				      ships same day | 
				      
               
               
               
                
               
             
            
                
                  
                  
                  
				       
				      028 | 
				      
                
                
                  
                
                
				202-1054
               | 
				      Bolt 3/8-24 x 3 1/2 hex head stainless steel | 
				      
                $5.50
                | 
				      1 | 
				         | 
				      usually ships 8-13 days | 
				      
               
               
               
                
               
             
            
                
                  
                  
                  
				       
				      029 | 
				      
                
                
                  
                
                
				202-0810
               | 
				      Squeegee trail arm | 
				      
                $95.48
                | 
				      1 | 
				         | 
				      usually ships 8-13 days | 
				      
               
               
               
                
               
             
            
                
                  
                  
                  
				       
				      030 | 
				      
                
                
                  
                
                999-0994
				
               | 
				      Screw 3/8-24 x 2 1/4 hex head stainless steel | 
				      
                $5.15
                | 
				      2 | 
				         | 
				      ships same day | 
				      
               
               
               
                
               
             
            
                
                  
                  
                  
				       
				      031 | 
				      
                
                
                  
                
                999-1007
				
               | 
				      Washer 3/8 x 1/16 flat nylon | 
				      
                $0.99
                | 
				      7 | 
				         | 
				      ships same day | 
				      
               
               
               
                
               
             
            
                
                  
                  
                  
				       
				      032 | 
				      
                
                
                  
                
                
				202-1161
               | 
				      Washer 1/2 flat thick bronze | 
				      
                $5.50
                | 
				      1 | 
				         | 
				      usually ships 8-13 days | 
				      
               
               
               
                
               
             
            
                
                  
                  
                  
				       
				      033 | 
				      
                
                
                  
                
                
				202-0812
               | 
				      Squeegee swing plate (OBSOLETE) | 
				      
                $140.25
                | 
				      1 | 
				         | 
				      usually ships 8-13 days | 
				      
               
               
               
                
               
             
            
                
                  
                  
                  
				       
				      034 | 
				      
                
                
                  
                
                999-0617
				
               | 
				      Washer 3/8 x 1 flat stainless steel | 
				      
                $1.82
                | 
				      4 | 
				         | 
				      ships same day | 
				      
               
               
               
                
               
             
            
                
                  
                  
                  
				       
				      035 | 
				      
                
                
                  
                
                999-0169
				
               | 
				      Nut 3/8-24 hex jam plain finish | 
				      
                $0.99
                | 
				      2 | 
				         | 
				      ships same day | 
				      
               
               
               
                
               
             
            
                
                  
                  
                  
				       
				      036 | 
				      
                
                
                  
                
                999-9071
				
               | 
				      Nut 3/8-16 nylon insert jam lock stainless steel | 
				      
                $1.52
                | 
				      1 | 
				         | 
				      ships same day | 
				      
               
               
               
                
               
             
            
                
                  
                  
                  
				       
				      037 | 
				      
                
                
                  
                
                999-0513
				
               | 
				      Nut 3/8-16 nylon insert lock type NE stainless steel | 
				      
                $3.96
                | 
				      1 | 
				         | 
				      ships same day | 
				      
               
               
               
                
               
             
            
                
                  
                  
                  
				       
				      038 | 
				      
                
                
                  
                
                999-0278
				
               | 
				      Nut 5/16-18 nylon insert lock jam zinc plated | 
				      
                $0.99
                | 
				      4 | 
				         | 
				      ships same day | 
				      
               
               
               
                
               
             
            
                
                  
                  
                  
				       
				      039 | 
				      
                
                
                  
                
                
				202-0151
               | 
				      Grommet | 
				      
                $5.50
                | 
				      3 | 
				         | 
				      usually ships 8-13 days | 
				      
               
               
               
                
               
             
            
                
                  
                  
                  
				       
				      040 | 
				      
                
                
                  
                
                
				202-0813
               | 
				      Spring | 
				      
                $16.61
                | 
				      1 | 
				         | 
				      usually ships 8-13 days | 
				      
               
               
               
                
               
             
            
                
                  
                  
                  
				       
				      041 | 
				      
                
                
                  
                
                
				202-0589
               | 
				      5/16 clear tubing | 
				      
                $5.50
                | 
				      1 | 
				         | 
				      usually ships 8-13 days | 
				      
               
               
               
                
               
             
            
                
                  
                  
                  
				       
				      042 | 
				      
                
                
                  
                
                
				202-0754
               | 
				      Flanged bearing | 
				      
                $5.50
                | 
				      1 | 
				         | 
				      usually ships 8-13 days | 
				      
               
               
               
                
               
             
            
                
                  
                  
                  
				       
				      043 | 
				      
                
                
                  
                
                
				202-1163
               | 
				      Bolt 3/8 x 3/8  shoulder stainless steel | 
				      
                $13.75
                | 
				      2 | 
				         | 
				      usually ships 8-13 days | 
				      
               
               
               
                
               
             
            
                
                  
                  
                  
				       
				      044 | 
				      
                
                
                  
                
                999-1099
				
               | 
				      Bolt 1/4-20 x 3/4 hex head stainless steel | 
				      
                $0.99
                | 
				      1 | 
				         | 
				      ships same day | 
				      
               
               
               
                
               
             
            
                
                  
                  
                  
				       
				      045 | 
				      
                
                
                  
                
                999-0562
				
               | 
				      Bolt 3/8-16 x 1 hex head stainless steel | 
				      
                $1.50
                | 
				      2 | 
				         | 
				      ships same day | 
				      
               
               
               
                
               
             
            
                
                  
                  
                  
				       
				      046 | 
				      
                
                
                  
                
                999-1244
				
               | 
				      Screw 10-32 x 3 pan head phillips stainless steel | 
				      
                $1.85
                | 
				      4 | 
				         | 
				      ships same day | 
				      
               
               
               
                
               
             
            
                
                  
                  
                  
				       
				      047 | 
				      
                
                
                  
                
                
				202-0811
               | 
				      Double ended stud | 
				      
                $27.28
                | 
				      1 | 
				         | 
				      usually ships 8-13 days | 
				      
               
               
               
                
               
             
            
                
                  
                  
                  
				       
				      048 | 
				      
                
                
                  
                
                999-0553
				
               | 
				      Washer 5/16 medium split lock stainless steel | 
				      
                $0.99
                | 
				      2 | 
				         | 
				      ships same day | 
				      
               
               
               
                
               
             
            
                
                  
                  
                  
				       
				      049 | 
				      
                
                
                  
                
                202-0174
				
               | 
				      Squeegee guide wheels w/ collar and hardware (pkg of 2) | 
				      
                $52.58
                | 
				      1 | 
				       (includes 017-020, 024 and 048)  | 
				      ships same day | 
				      
               
               
               
                
               
             
            
                
                  
                  
                  
				       
				      051 | 
				      
                
                
                  
                
                
				202-0727
               | 
				      Squeegee drag brace (OBSOLETE) | 
				      
                $96.03
                | 
				      1 | 
				         | 
				      usually ships 8-13 days | 
				      
               
               
               
                
               
             
            
                
                  
                  
                  
				       
				      1b | 
				      
                
                
                  
                
                991-2412
				
               | 
				      Squeegee trail mounting bracket | 
				      
                $53.28
                | 
				      2 | 
				       (NON-OEM)  | 
				      ships same day |